谁能上科创板?上海市领导最近调研了一批创新企业
科创板的消息公布以来,几乎所有人都在猜想:什么样的企业可以上科创板?
虽然标准暂未定,但市场的共识之一,高新技术类硬科技企业无疑是科创板的首要潜在标的。
上海市委书记李强最近在调研时强调,上海要瞄准集成电路、人工智能、生物医药、航空航天、新能源汽车等关键重点领域,让那些具有新技术、新模式、新业态的企业真正脱颖而出。
调研高科技企业马不停蹄
近期,随着科创板的推进,上海市相关领导马不停蹄地对一批创新创业公司进行了调研:
11月2日,市委书记李强实地考察了依图科技、星环信息、奥盛集团。
11月14日,吴清副市长调研了深兰科技、拼多多。
11月16日,市委常委、常务副市长周波实地调研了博泰悦臻网络技术服务有限公司、澜起科技、上海复宏汉霖生物技术股份有限公司。
11月20日,市经济信息化工作党委书记陆晓春先后到上海西井信息科技有限公司、上海极链网络科技有限公司调研。
11月21日,市经信委副主任傅新华带队赴临港开发区,调研上海积塔半导体有限公司、上海新昇半导体科技有限公司。
11月21日,市委副书记、市长应勇走访调研上海随易网络有限公司、上海联影医疗科技有限公司、均瑶集团。
这些企业的科技有多“硬”?
这些被上海市各级领导调研的硬科技公司到底有多“硬”?
澜起科技股份有限公司(以下简称“澜起科技”)成立于2004年,2014年11月20日,浦东科投、中电投资共同成立的实体完成了对澜起科技的私有化,估值约6.39亿美元。
对于证券化安排,有业内人士透露,澜起科技确实在运作上市,但是否瞄准了科创板则未知。
2016年以来,澜起科技和英特尔及清华大学合作,开发出安全可控、面向人工智能的津逮服务器CPU芯片。2018年11月7日,澜起科技的津逮服务器平台成功入选第五届世界互联网大会的世界互联网领先科技成果。
上证报数据共享平台数据显示,澜起科技有44个股东。
其中,中国电子投资控股有限公司是第一大股东,持股17.89%;中信证券持股5.65%;上海临理投资合伙企业(有限合伙)、上海临丰投资合伙企业(有限合伙)、上海临骥投资合伙企业(有限合伙)、上海临利投资合伙企业(有限合伙)、上海临国投资合伙企业(有限合伙)、上海临桐建发投资合伙企业(有限合伙)、上海临齐投资合伙企业(有限合伙)等“上海临芯系”资本合计持股14.41%。
中国电子投资控股有限公司的第一大股东是中国电子信息产业集团有限公司(简称“CEC”),持股30%。CEC旗下有上海贝岭、深科技、华东科技、振华科技、深桑达A、中国长城等A股上市平台。
资源来源于CEC官网
上海临芯则成立于2015年5月,法定代表人是上海浦东科技投资有限公司,后者持有万业企业、上工申贝等A股平台。
肩负国产“300mm大硅片”使命,上海新昇半导体科技有限公司(以下简称“上海新昇”)于2014年6月成立。
这是一家含着“金钥匙”出生的高科技公司,创始人是半导体业界鼎鼎大名的中芯国际创始人张汝京,创始股东包括上市公司上海新阳。
对于是否上科创板,上海新阳日前在回答投资者问询时表示:相信上海新昇的大股东会做出明智正确的选择。
据悉,上海新昇的大硅片已于今年5月份正式开卖。根据上海新昇规划,2018年底预计月产能可达10万片,2020年底前将实现月产30万片产能目标,最终将达到100万片的产能规模。
股东信息显示,上海新昇股东为上海硅产业投资有限公司、上海新阳,持股分别为72.44%、27.56%。
上海新阳半年报披露,上海新昇2018年上半年实现营业收入7825.89万元,因承担02专项、投入研发费用并确认相应财政补贴收入等原因,上半年净利润1014.56万元。
上海积塔半导体有限公司(以下简称“积塔半导体”)是半导体界的新星,成立于2017年11月,唯一股东是华大半导体。华大的目标是做“中国的TI(德州仪器)”。华大半导体隶属CEC,并持有A股上市公司上海贝岭。
8月16日,积塔半导体特色工艺生产线建设项目在上海临港举行项目施工启动。该项目投资359亿元,一阶段建设一条月产6万片的8英寸特色芯片工艺生产线,预计2020年中建成投产;二阶段建设一条月产5万片的12英寸特色芯片工艺生产线,预计2023年中建成投产。
重点面向工控、汽车、电力能源领域。10月30,积塔半导体与港股公司先进半导体订立了私有化协议。先进半导体是中国内地最早从事汽车电子芯片、IGBT芯片制造的企业。
有业内人士表示,对于重资产的半导体制造公司来说,鉴于投资大盈利周期长等特定,对于积塔半导体是否能成为中国的TI,还需要时间来检验。
不过,如果参照港股设定,积塔半导体登陆创业板也未尝不可能。
官网显示,上海联影医疗科技有限公司(以下简称“上海联影”)自主研发生产覆盖影像诊断和治疗全过程的高端医疗用品,并提供创新的医疗信息化解决方案。
产品方面,公司自主研发并生产全线高端医学影像诊断设备,包括分子影像(MI)、磁共振(MR)、计算机断层扫描仪(CT)、X射线(XR)、放疗(RT)设备。公司还开展了U+互联网医疗业务,提供医疗信息化、智能化解决方案。
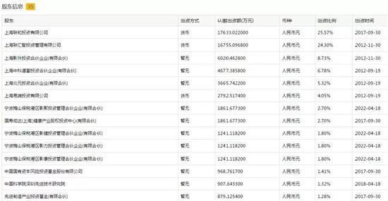
上证报数据共享平台数据显示,上海联影的股东多达35家(部分股东见下图),其中大股东上海联和投资有限公司持股25.57%,中信证券则持股0.3%。
记者查阅,上海联和投资旗下的高科技公司还包括做CPU的上海兆芯、做传感器的上海希睿、做OLED的和辉光电等。
深兰科技
深兰科技(上海)有限公司(以下简称“深兰科技”)成立于2012年8月。根据媒体报道,深兰科技于今年2月份获得亿元级的A轮融资,由华映资本领投,德商资本跟投。
4月16日,深兰科技获得2亿元A+轮融资,投资方为中金资本旗下的中金智德。稍后,深兰科技又获得绿地控股战略投资3亿元。
上证报数据共享平台数据显示,深兰科技目前股东11位,法定代表人、第一大股东陈海波持股50.98%。
对于是否准备登陆科创板,有接近公司人士告诉记者:陈总(陈海波)之前表示深兰肯定不会去海外上市。目前,我们所知的仅限于深兰开始为科创板上市做准备了,但并不知道明确的规划方案和时间表。
就在9月份于上海举行的“2018世界人工智能大会”上,深兰科技发布了深兰人工智能产业投资并购基金。
据悉,该基金由深兰科技联合中金资本、绿地集团发起设立,旨在充分发挥各自优势,“孵化+并购”双轮并举,挖掘、培育并赋能有潜力的团队与创业企业。
(来源:上海证券报)
(编辑:叶映橙,实习生,曾旻)





