最近做大病筹起家的轻松筹和水滴筹又杠上了,这次不是双方“筹人见面”打架,而是争夺“大病筹第一股”。
近日,一则轻松筹上市的消息在互联网传开。据多家媒体报道,轻松筹正在招聘公关负责人,月薪2.5万-5万元,以其标注的14薪计算,年薪最高达到70万元,该岗位要求之一是:全面参与上市筹备公关工作,参与制定整体方案,并负责推进实施。
事实上,这并非轻松筹第一次传出上市动作。7月27日,轻松筹曾传来了新一轮融资的计划。据彭博社消息,轻松筹寻求新一轮融资,融资额约为5000万—1亿美元,公司估值将为10亿美元。彼时,该轮融资估值曾引来市场热议,有业内人士称轻松筹实际估值仅为3-5亿美元,此次融资或是为上市提高估值。
巧合的是,三天前水滴筹被传正筹备赴美上市。
7月24日外媒消息称,水滴筹正在筹备在美国纳斯达克交易所上市的相关事宜,筹资金额约为40亿美元,最早将于今年内完成上市。不过,水滴公司回应媒体称,目前还没有明确的IPO计划,但公司会保持探索资本市场的各种可能性。
公开资料显示,成立于2014年9月的轻松筹已升级为轻松集团,旗下产品包括轻松筹(大病筹款平台)、轻松互助(网络互助)、轻松健康(医疗健康)、轻松保(保险商城)、轻松公益(捐赠信息平台)
与轻松筹相比,2016年7月上线的水滴筹晚了近两年时间。然而,成立之初就获得腾讯、美团点评、IDG资本等5000万天使轮融,目前旗下产品包括水滴筹(大病筹款平台)、水滴互助(网络互助)、水滴保(保险商城)等。
在资本的加持下,水滴筹首创大病筹0服务费。自此,大病筹平台进入寡头时代。
据网友不完全统计,大病筹款平台多达65家,但真正形成竞争的只剩4家,分别为轻松筹、水滴筹、360大病筹(原诺言筹),以及爱心筹。因为竞争激烈,大病筹平台的审核形同虚设,相继发生德云演员“水滴筹“事件,轻松筹与水滴筹“筹人见面”打架事件,轻松筹与360大病筹员工冲突事件。
扫楼冲突事件频发,大病筹平台的公益外衣被指浸染铜臭,为了挽回在公众心中的形象,轻松筹和水滴筹相继上线了大病求助信息公示系统和失信黑名单公示。
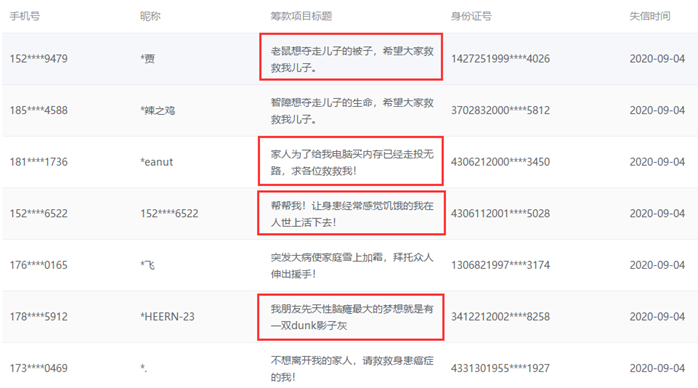
截至发稿前,轻松筹公示的失信黑名单共185人,公示起始时间为2018年7月20日。水滴筹公示的失信黑名单共122人,公示起始时间为2017年7月30日。爱心筹公示的失信黑名单共6人,公示起始时间为2018年6月21日(2018年12月18日停止公示)。360大病筹公示的失信黑名单共1人,公示起始时间为2020年1月23日。
截至2018年9月,轻松筹共帮助超过253万个家庭,筹集善款总额超过255亿元.水滴筹共帮助80多万名大病患者筹款超过100亿元,帮助人次超过3.4亿。360大病筹官网未披露获得筹款人数及金额,爱心筹官网宣称为近60万患者筹款,但未披露筹款总金额。
与公示的失信黑名单185人形成鲜明对比的是,轻松筹150人的客服团队为用户提供筹款服务。水滴筹虽未披露客服团队人数,但其官网明确“一对一服务”。
让人大跌眼镜的是,轻松筹和水滴筹公示的失信黑名单,审核标准基本上是审核标题。
开甲财经注意到,轻松筹5月-6月公示的失信黑名单,失信项目标题包括“因为拔牙齿神经衰弱导致死亡”、“想买一辆高档一点的车子去泡妞”。
水滴筹9月4日公示的黑名单,失信项目标题包括“老鼠想夺走儿子的被子,希望大家救救我儿子”、“帮帮我!让身患经常感觉饥饿的我在人世上活下去”。
不难发现,轻松筹、水滴筹公示的黑名单之所以不足200人,并不是因为真正需要筹款人的多,而是两家平台的审核标太过于宽松,以至于被列入黑名单的只是恶作剧类筹款项目。
与列入黑名单过于宽松的审核标准相比,两家平台在帮助用户筹款方面却煞费苦心。例如,水滴筹提供求助标题、求助说明文案模板,轻松筹客服则提供“一对一”筹款服务。
开甲财经还注意到,轻松筹、水滴筹均在BOSS直聘大量招聘“筹款顾问”其中,轻松筹正在渭南、七台河、汉中、双鸭山、北京、上海、武汉、苏州、中山、南通、揭阳、徐州、宜昌、泰州、曲靖、乌海、达州、盘锦等地均在招聘“筹款顾问”职位。
水滴筹则在合肥、广州、福州、重庆、长沙、镇江、银川、深圳、昆明、南京、无锡、萍乡、泸州、曲靖、南充、新余、宜春、成都等地招聘“筹款顾问”职位。
尽管轻松筹、水滴筹给筹款顾问并不算高新,但两家平台均宣称筹款0服务费。据媒体报道,大病筹平台的地推人员每单提成最高150元,也会有绩效考核、末位淘汰。既然如此,轻松筹、水滴筹为何还要赔本赚吆喝?难道真的只是为了做公益?答案显然不是:
一、轻松筹、水滴筹会收取用户一定的提现手续费(微信提现手续费0.1%,但轻松筹、水滴筹按0.6%收取);二、用户发起筹款周期默认30天,期间会产生大量的资金沉淀,平台可以将这部分资金用于理财或投资;三、无论是大病筹还是网络互助,本质上是导流产品,最终平台会通过保险、医疗等业务变现。
对轻松筹、水滴筹而言,随着蚂蚁、滴滴、苏宁、美团、360数科等入局网络互助,留给其施展空间的空间并不大。相比而言,在大病筹领域,轻松筹、水滴筹具有绝对优势。因此,两家平台必然会在大病筹业务上激烈竞争。
当然,由于轻松筹、水滴筹均获得腾讯投资、IDG资本的投资,未来两家平台是否会走上优酷与土豆、58与赶集、滴滴与快递合并的老路,我们拭目以待。
(作者:开甲财经 )
声明:本文由21财经客户端“南财号”平台入驻机构(自媒体)发布,不代表21财经客户端的观点和立场。





