网络小贷新规一个月后,华润拟转让旗下网络小贷股权
21世纪经济报道 21财经APP 谢水旺 上海报道
2020-12-03 18:58
近日,两笔润信(汕头华侨试验区)互联网小额贷款有限公司50%股权项目,在上海联合产权交易所披露。转让方分别是华润网络控股(深圳)有限公司和华润建筑有限公司。
值得一提的是,11月2日,银保监会官网显示,中国银保监会会同中国人民银行等部门起草了《网络小额贷款业务管理暂行办法(征求意见稿)》,正向社会公开征求意见。
(延伸阅读:《21深度丨联合贷款上了“紧箍咒”,借呗们何去何从?》)
对此,一家网络小贷公司负责人告诉21世纪经济报道记者:“一方面,绝大部分网络小贷公司会退出或转让,但未必有人接手;另一方面,可能华润的网络小贷公司本身做得不好。”
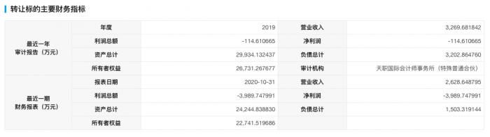
公开资料显示,2019年度,润信(汕头华侨试验区)互联网小额贷款有限公司营业收入约3270万元,净利润亏损约115万元;截至今年10月31日,营业收入约2629万元,净利润亏损约3990万元。
(作者:谢水旺 编辑:曾芳)
评论

