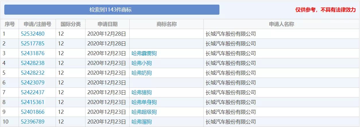
近日,长城汽车已成功注册多款车型的名称商标,包括:哈弗遛狗、哈弗奶狗、哈弗猎狗、哈弗单身狗、哈弗霹雳狗、哈弗超级狗等商标,主要涉及方向为:运升工具、广告销售和商标等,当然,这些雷人的名称并不会全部应用在车型上,而是为了防止有人恶意抢注而提前注册罢了,至于未来会使用哪一个名称商标,大家不妨打开脑洞想象一下,而目前我们可以肯定的是,大狗系列车型将会继续推出相关车型。

看到这些名称,大家的肝颤了吗?事实上,哈弗申请这么多商标也不排除将它们应用到哈弗车型的可能,在此之前,谁都不相信哈弗将“大狗”、“初恋”、“黑猫”、“好猫”等名称放在量产车使用,而现在大家不也欣然接受了吗?


(作者:御风派 )
声明:本文由21财经客户端“南财号”平台入驻机构(自媒体)发布,不代表21财经客户端的观点和立场。
评论