立讯精密(002475.SZ)2月3日晚间发布公告称,收到控股股东立讯有限公司(以下简称“立讯有限”)及其一致行动人、立讯精密实际控制人之一、副董事长王来胜通知拟通过深圳证券交易所大宗交易系统减持公司无限售条件流通股共计1.4亿股,减持股份占比2%,减持资金将主要用于其他产业投资及部分偿还立讯有限银行借款的资金需求。
此外,自2020年9月3日《简式权益变动报告书》披露至今,公司股票期权激励计划激励对象通过自主行权系统累计行权2579.66万股,公司总股本增加2579.67万股,立讯有限及王来胜原持股比例由41.12%被动稀释至40.97%,稀释比例为0.15%。

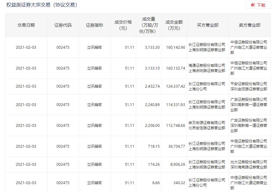
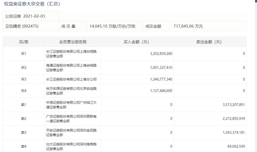
从深交所当天的大宗交易减持情况来看,2月3日立讯精密成交8笔大宗交易,合计成交1.4亿股,合计成交金额为71.78亿元。根据公开信息,基本可以判断这是立讯精密实控人进行的交易。
具体来看,大宗交易买卖双方均为券商营业部。中信证券广州临江大道卖出35.7亿元,广发证券深圳高新南一道、平安证券股份有限公司深圳金田路等三个位于深圳的营业部合计卖出36亿元。对比公告可知,上述营业部正是立讯有限及王来胜的减持通道;买方方面,长江证券上海东明路等三个位于上海的营业部合计买入60.5亿元,申万宏源北京安定路买入11.3亿。

大宗交易的减持价格为51.11元,较立讯精密股价折价不到1%,立讯精密2月3日跌逾4%,收盘价为51.54元,市值为3619亿元,根据收盘价计算,大股东此次套现金额近72亿元。

【不到一个月,市值蒸发800多亿】
公开资料显示,立讯精密成立于2004年5月24日,做连接器起家,于2010年9月15日在中小板上市,曾在去年10月创出盘中最高价涨幅高达66倍,市值一度超过4000亿元。而后,2021年1月21日,美国际贸易委员会(ITC)决定对特定电连接器和保持架组件及其产品发起337调查,立迅精密工业股份有限公司、东莞立迅精密工业有限公司涉案。
这则调查始于2020年12月18日,当时美国安费诺公司向美国际贸易委员会提出的申请,指控立讯精密及子公司东莞立讯精密等5家企业对美出口、在美进口或在美销售特定电连接器与壳及其组件和下游产品侵犯其专利权,请求美国际贸易委员会发布有限排除令和禁止令。

1月24日,立讯精密发布公告称,“本次337调查对公司目前的生产、经营不会造成实质性影响。”立讯精密还表示,公司已成立了专门的工作组,并聘请美国337调查及专利诉讼律师团队积极应对本次337调查。不过,立讯精密的回应未能完全消除市场担忧。
年初以来,立讯精密股价一度上扬,并于1月14日盘中创出63.26元的阶段性高点,但此后股价便一路持续调整,加之苹果产业链板块遭遇市场资金出逃。截至2月3日收盘,立讯精密股价较20天前的高点已经下跌近19%,市值随之蒸发823亿元。
(作者:资本邦 )
声明:本文由21财经客户端“南财号”平台入驻机构(自媒体)发布,不代表21财经客户端的观点和立场。