巨头是投资方;公关在KTV待命
一年一度的315晚会落下帷幕,不少企业被点名,个人信息安全问题再次被充分关注。
那么,透过这些被曝光企业的案例,背后又隐藏着那些秘密呢?
下面这篇文章我们将告诉你最新的瓜。
“人脸识别”被点名
刷脸服务商由金沙江创投、腾讯等投资
今年315晚会第一个被点名的是人脸识别问题,科勒卫浴作为线下门店代表被点名。
在被曝光后,科勒卫浴回应门店装监控收集人脸数据:已知晓,将尽快反馈。
而背后谁提供了这些人脸摄像头以及服务呢?
315晚会点名了苏州万店掌、悠络客、雅量科技等厂家。
而你不知道的是,这些刷脸服务商的背后竟然出现了不少巨头的身影。
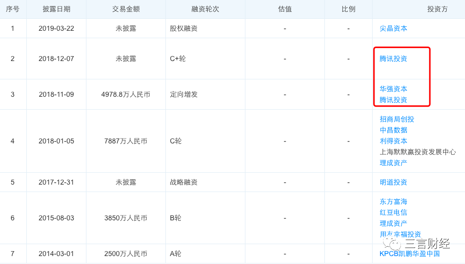
资料显示,苏州万店掌成立于2016年,2017年曾获得曾获得金沙江创投1500万元A轮投资。
目前,金沙江创投董事总经理朱啸虎本人为万店掌董事。最终持股比例为0.0362%。而朱啸虎的金沙江创投也是万店掌的第四大股东。

此外,万店掌于去年5月份完成8000万元B轮融资,由德同资本领投,远海明华、苏高新跟投。

而另一个企业悠络客成立于2009年,2013年曾获KPCB A轮数千万人民币投资,2015年获东方富海、用友幸福和理成基金B轮近亿元投资,并于2016年在新三板挂牌;2017年获7887万元C轮融资,本轮融资由招商局领投,理成资产、中昌数据和默默赢跟投。
2018年,悠络客完成C+轮融资,本轮由腾讯战略投资。

雅量商业智能则于近日完成数千万元PreA轮融资,由巨嘉资本、华阳信通领投,多家零售战略资源方及老股东跟投。

这些被知名创投机构和互联网巨头看好的公司,打着科技的旗号,却实实在在地侵犯着我们的个人隐私,是该好好查查了。
某互联网公关团队KTV里待命
每年的315晚会,除了媒体朋友们忙个不停,最忙的应该是各家企业的公关们了。
这不,某互联网公司公关团队集体现身在北京国贸某KTV,做了两手准备。
如果被315点名了,就加班到天明,连夜奋战;如果315没报,则举杯庆祝,歌唱到天亮。
这算是对互联网公关部门和公关公司的最真实写照了。


最后的结果是,这家公司没上榜,他们已经开了好几捆香槟歌舞升平了。
个人简历被泄露贩卖
智联招聘、前程无忧等APP被下架
除了摄像头违法抓拍个人信息,在社交平台上个人简历更被肆意贩卖。调查发现,智联招聘、猎聘、前程无忧等平台上都存在着个人简历被泄露的风险。

三言财经发现,OPPO、vivo应用商店中,已经将智联招聘、前程无忧等App下架。


目前,用户在应用商店中搜索相关APP已无法查到相应结果。不过,目前华为手机、百度手机助手等应用商城尚未下架上述App。
因虚假广告被点名
UC回应已关注将优化
360曾宣布放弃一切医疗商业推广
周鸿祎:赚钱没错,但不能谋财害命
今年搜索引擎虚假广告问题再次被曝光,而且医院信息搜索“竞价排名”问题如今依然存在。

针对“UC浏览器搜索存在医药广告造假”一事,UC浏览器方面回应称,将有相关人员关注此事并进行优化。
360搜索则回应称在第一时间成立调查组,对涉事代理商及相关账号进行彻查,对违法违规行径将严惩,并将强化广告内容审核。
值得注意的是,当年魏则西事件发生后,360曾发布公开信宣布放弃一切医疗商业推广业务。周鸿祎还在朋友圈表示,“赚钱没错,但不能谋财害命”。

特斯拉没资格上315?
可以发现,今年的315晚会,在互联网领域着重关注了消费者的信息安全问题,而其中很多问题已经被多次报道过。
这也再次提醒我们,对于隐私问题一刻不能放松,也希望各大互联网公司能够守住底线。
此外三言财经还发现一个有趣问题,就在315晚会播出前,各大媒体纷纷将特斯拉列入了被曝光的潜在名单。
主要原因是今年特斯拉发生了太多的“安全事故”,也在舆论的风波中来回穿梭。
“别让特斯拉跑了”,“没有谁比特斯拉更有资格上315”,媒体们用上这样的标题也能理解。

但是现实是,特斯拉并没有在晚会中出现过一次。
此时又有媒体发问,“特斯拉凭什么没上315晚会”?


有理由相信,不少人希望能在晚会中听到特斯拉的声音,这次没有出现确实让人意外。
那么,现在你觉得KTV里响起的是庆祝声,还是松弛下来的叹息声呢?
(作者:三言财经 )
声明:本文由21财经客户端“南财号”平台入驻机构(自媒体)发布,不代表21财经客户端的观点和立场。