薇娅又火了,不过这次不是因为带货销售额破纪录,而是相关公司被罚53万元。怎么回事?
谦寻(杭州)文化传媒有限公司(下称“谦寻文化”)因广告违法案被罚53万元,引发广泛关注。国家企业信用信息公示系统显示,该公司处罚事由为“广告含有妨碍社会公共秩序和违背社会良好风尚的内容和情形”。
公开资料显示,谦寻文化董事长董海锋即为带货主播薇娅的丈夫。该公司由谦寻(杭州)控股有限责任公司全资持股,薇娅(黄薇)本人间接持有后者股份。

国家企业信用信息公示系统显示,谦寻文化法定代表人为董海锋,该公司违法行为类型为“广告含有妨碍社会公共秩序和违背社会良好风尚的内容和情形”,主要违法事实为“食品、化妆品等宣传功效”,行政处罚内容为“罚没款人民币53万元,上缴国库”,作出行政处罚决定日期为2021年4月8日。
启信宝信息显示,谦寻文化注册资本为500万人民币,经营范围为广播电视节目制作经营、演出经纪、组织文化艺术交流等。薇娅丈夫董海锋为其法定代表人。该公司由谦寻(杭州)控股有限责任公司全资持股,薇娅(本名黄薇)间接持有后者股份。

据其官方微信介绍, 谦寻文化成立于2017年4月28日,目前公司旗下共有50余位主播,其中包括薇娅、林依轮、李静、海清、李响、大左、李艾、高露等。
2018年起,该公司已创建北京明星直播基地,杭州超级供应链基地,子公司谦娱娱乐负责实现内容变现,子公司谦禧文化负责IP授权业务。
对于上述行政处罚信息,薇娅团队迅速发布声明,并与谦寻文化撇清关系。
就网传“薇娅公司被行政处罚”一事,3日18时许,薇娅律师声明称,谦寻文化与薇娅系合作关系,在法律上双方系各自独立承担责任的民事主体。“薇娅公司被行政处罚”等内容将谦寻(杭州)文化传媒有限公司与薇娅本人进行等同、影射,不符合客观事实。部分网络媒体将两者混淆对薇娅本人造成名誉权侵害。

据南都此前报道,2020年12月11日,薇娅担任公司股东的广州薇蜜可思服饰有限公司被列入经营异常名录,原因为“通过登记的住所或者经营场所无法联系”。而这并不是该公司第一次因此被列入异常经营名录。
2015年11月12日,广州薇蜜可思服饰有限公司被广州市因“通过登记的住所或者经营场所无法联系”被列入经营异常名录,作出决定机关为广州市工商行政管理局荔湾分局,直到2017年5月24日才被移出经营异常名录。
几天前,薇娅刚刚因被质疑售卖山寨联名商品向公众道歉。
此前,薇娅在直播间售卖了一款Supreme x GUZI联名挂脖风扇,薇娅与直播间工作人员多次强调该商品为爆款。不过,这款198元的风扇,却被时尚博主公开质疑是山寨联名商品,而非美国潮牌。

随后,品牌方谦寻文化发布声明表示,“经过核查,我们深知本次推广产品存在授权争议,我们再次向公众致歉,但古姿GUZI和我们都难以从法律层面进行维权,这是谦寻和薇娅团队成长中值得被铭记的教训。”同时指出,公司绝不回避此次授权争议中应承担的责任,已主动向有关部门说明情况,且没有删除相关直播回放。
此外,薇娅也公开道歉:“这次授权争议事件是我和我的团队永远铭记的教训,我们也绝不会回避此次事件中应该承担的责任。”

但这并非薇娅第一次陷入售假风波。
2020年1月,意大利轻奢品牌ASH曾发文声明,多名消费者和消费渠道投诉“薇娅viya高端定制女鞋”淘宝店仿冒制作ASH品牌旗下多项产品,并在“薇娅viya直播间”销售。针对此事,ASH已委托发表律师督促有关单位和个人立即停止违法行为,收回、销毁已经投入市场的抄袭假冒产品。
同年3月,原创设计品牌squarecircle也在微博上指控薇娅在直播中销售的一款针织开衫毛衣的款式、设计完全类似于squarecircle 2019年12月在淘宝官方店铺上线售卖的商品,只是用了品质较差的纱线替换,实为“山寨品”。
此外,薇娅旗下的公司此前也多次被列入异常经营名录。
2020年12月11日,薇娅担任公司股东的广州薇蜜可思服饰有限公司被列入经营异常名录,原因为“通过登记的住所或者经营场所无法联系”。而这并不是该公司第一次因此被列入异常经营名录。
2015年11月12日,广州薇蜜可思服饰有限公司被广州市因“通过登记的住所或者经营场所无法联系”被列入经营异常名录,作出决定机关为广州市工商行政管理局荔湾分局,直到2017年5月24日才被移出经营异常名录。
薇娅本名黄薇,1985年出生于安徽。
在今年5月发布的“2021新财富500富人榜”上,年仅36岁的薇娅和董海锋夫妇以90亿身家排名第490名,与之并列的是“风投女王”、今日资本创始人徐新和老干妈创始人陶华碧。
而这一步,老干妈用了23年,张旭豪用了13年,薇娅只用了5年。

据悉,A股4200余家上市公司,2020年营收超过薇娅带货数额的,不足300家。至此,薇娅夫妻俩的财富值已经不言而喻。
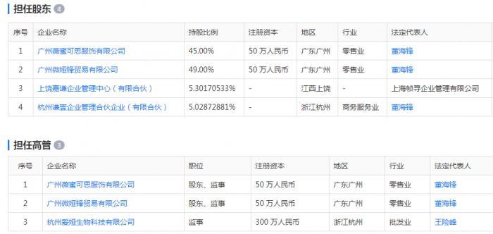
公开资料显示,薇娅作为淘宝第一主播,淘宝粉丝1890万+,单场直播最高观看4300万+。同时,薇娅在多家公司担任股东、高管,旗下控股企业包括广州薇娅锋贸易有限公司等5家企业。


相较于薇娅而言,其丈夫董海峰则更多料理公司事务,且身份繁多。
启信宝数据显示,董海峰为14家公司的法人,其中包括谦寻控股、谦寻文化、谦寻娱乐、杭州谦壹企业管理合伙企业(有限合伙)等。
此外,董海峰具有29家企业的实际控制权,同时还在17家企业任职高管。
值得注意的是,“头顶光环”的薇娅不仅带火了直播,还悄悄涉足私募股权投资领域。
查询显示,谦寻(杭州)控股有限责任公司今年4月再度进行了工商变更,投资人新增海南云锋拓海基金中心(有限合伙),持股比例显示5%。这也就是说继君联资本入场后,知名PE云锋基金也低调入股了该公司。

此外,今年1月份,薇娅关联公司还成立了私募基金管理公司“青岛谦喵私募基金管理有限公司”,该公司经营范围包括私募股权投资基金管理、创业投资基金管理服务等,并于2021年5月10日在协会登记备案。

据了解,青岛谦喵私募基金管理有限公司由谦寻(杭州)控股有限责任公司100%持股,其疑似实际控制人为薇娅的丈夫董海锋。
21综合自中国基金报、南方都市报、国家企业信用信息公示系统、启信宝、公开信息
(编辑:曾静娇)