
文/ 何己派 编辑/ 陈晓平
谁也没料到,在线教育1对1的牌桌,是它留到了最后。
6月8日,掌门教育在纽交所挂牌上市,股票代码“ZME”,当日收盘价为16.99美元,涨逾47%,总市值约27亿美元。

以在线1对1模式起家,掌门教育现拥有掌门1对1、掌门少儿等子品牌,产品矩阵覆盖3-18岁的K12全年龄段,包含全学科教育及综合素质教育。
按弗若斯特沙利文报告,2017年以来,其一直是中国最大的K12在线1对1课外辅导服务提供商,2020年的市场份额为31.9%。

中国K12课外教育服务行业市场规模,2013年至2022年(估计) 来源:沙利文
在线教育1对1赛道历经起伏,掌门教育入场晚,一度不被看好,由于学霸君等同赛道公司悉数黯然离场,它成了少数能跑到后半程的选手。
拔尖的1对1
掌门教育创始人张翼,32岁,是一名潮汕人。
2009年,张翼在校就开始折腾线下教育,做起补习,这位数学单科状元,即是开班的金字招牌。慢慢做到几家门店,单店月营收能到十几万,2014年,张翼调转方向,决定全面转型线上,模式选定1对1。

掌门教育创始人张翼
彼时,流行模式是教育O2O,热钱大量涌入。出去拉融资时,张翼介绍公司模式,投资人听了摇头不愿投,“O2O能一日前进一公里,某个城市月初一单,月底就能做到上万单,别人增长那么快,你这么慢,怎么能行?”
融资困难,掌门一度窘迫到只能借钱给员工发工资,张翼不得不四处筹钱,每个月垫上几百万以维持公司运营,直至顺为资本领投的A轮融资后,才算挺过难关。
好日子很快来了。
疯狂烧钱的教育O2O走入低潮,线上1对1是最接近线下教学体验的,靠着无需组班、快速规模化复制的优势,获得资本认可,鼎盛之时,赛道的前10名都能拿到融资。

掌门是拔尖的一个。
2017年6月,1对1业务的单月营收破亿,领先第二名数倍多,当年总营收达到10亿元,注册学员超过200万,而后,只用6个月,将学员规模翻了2倍。
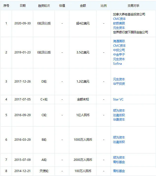
7年时间,掌门完成8轮融资,2020年9月,最后一轮融资超4亿美元,外界称其估值已达40亿美元。

巨亏的头部
在线1对1一直有“规模不经济”的标签,模式重、讲求细节、成本刚性。
业内人士告诉《21CBR》记者,从商业价值来看,相比其他班型,线上1对1强调个性化教学,师资要求高,客单价更高,获客难度更大。师资和获客这两项成本,是1对1玩家最难节省的大头开支,尤其前者。

规模扩大,老师数量增多,管理半径变大,而师资成本降低空间有限,占比通常在50%左右,毛利率普遍在50%以下,公司容易陷入亏损境地,非常考验运营能力。
没有例外,掌门也在巨亏。
2019年、2020年公司净亏损分别为15.04亿元、10.12亿元,单单2021年第一季度,就亏损4.97亿元,日均亏550万。
教师薪资是主要成本,占比在50%左右,K12赛道竞争激烈,营销和销售费用也烧钱,2021年一季度大手笔投放,营销费用9.09亿元,同比涨了近一倍。2020年,这笔开支高达25.77亿元。

一对一业务的付费学员人数,2019年、2020年分别为38.05万、54.48万人,2021年一季度,1对1的新增付费学生人数是13.36万,同比增长了52%。对应的人力投入,则是超过4.5万的教师(其中专职2.5万人),1.73万名市场销售人员(包括第三方服务人员)。

按此计算,大约每15名学生,就对应1位老师。
1对1赛道里的所有选手深谙,必须先奋力跑到头部位置,拿到规模和品牌优势,最大限度地拉开与对手的差距,而后寻找盈利和发展空间。
以这个标准判断,张翼是成功的,代价也非常巨大,过去7个季度,其总亏损达到30亿元。
内外的艰难
“你始终要知道最短的那块板在哪,该怎么修复,不应该只看长板。”张翼说。
他有个“拼短板”理论,师资、生源、师生匹配、教研内容、服务等板块,只要一块板没有做好,客户就会有明显感知。例如,师生匹配就有供需矛盾,既考虑精准度,又得思考头部优质老师需求是否过度集中。
掌门也在精细化管理开支,优化其业务结构,1对1业务之外,增加了大班课、小班课和AI互动课的班型选择,扩充产品矩阵,改良单位经济模型。
其中,小班课品牌“掌门优课”2020年7月上线,付费学员增长快速,今年一季度达到29万以上,作为第二增长曲线,尚处在投入期;子品牌“掌门少儿”、“小狸启蒙”,在招股书中被归类至“Others”,收入体量还未形成一定规模。

短期内,掌门摆脱不了1对1业务的依仗,2020年,该业务贡献90%以上的净收入,2021年Q1依然达到87.3%。
张翼将希望寄托在AI技术赋能上,提出“AI in all”的理念,将AI用到匹配、监测、题库、教研等多个场景,帮真人教师腾出更多时间和精力。

对内,盈利仍是掌门的长期目标,受限于竞争压力和新业务孵化,短期内有难度。
在外,监管风暴来袭。
就K12学科教育和学前教育,国家明确释放强监管信号,强调严禁随意资本化运作,压制了增长空间,在线教育概念股均大跌。
6月1日,上海市场监督管理部门从重处罚四家校外培训机构,罚款合计1000万元,掌门教育即是其中之一。

据悉,掌门1对1在其官方App的宣传中,含有“已报名17253人”、“10年重点高中一线教学经验”、“押中97道原题”等内容,夸大课程报名人数,虚构教师任教经历,虚构押题成功经历,夸大培训效果。掌门1对1回应称,将进行逐项自查和全面整改。
监管环境如此严厉,掌门教育坚持上市,成为K12在线教育1对1第一股,这是一种胜利,但它要打的硬仗,还有很多。
题图来源:视觉中国