说到虎扑,对于体育爱好者而言,凝聚了太多情结。在信息流通不对称的年代,满足了球迷们对赛事的热情。
如今的虎扑已发展为年轻人的兴趣社区平台,包含体育、电竞、娱乐等各个版块,同时拥有各类最新赛事资讯、数据等,以满足Z世代难调的胃口。截至去年5月,虎扑用户数已超过1亿,活跃用户数达8000万,其中90%以上为男性用户。
而历经长达16年的成长,现今的虎扑其实已经具备上市的资本。但6月23日,中金公司公告,鉴于虎扑拟调整上市计划,中金公司、东方财富证券、虎扑三方同意解除辅导协议,终止对虎扑首次公开发行股票并上市的辅导工作。这也意味着虎扑第二次终止IPO计划。
那么,作为“直男社区”平台,虎扑靠着直男审美打下了一片江山,积蓄了一定的力量,现今再次发起上市,或也是虎扑如今想到的好故事,但为何又再出变数?接下来IPO捕手多点解读虎扑上市之路,让外界对它有更多认知。
虎扑发展历程
虎扑于2004年从篮球社区hoopCHINA.com起步,2007年虎扑体育正式成立,注册资本为1.18亿元。
公开资料显示,虎扑是一家国内领先的体育互联网平台和互联网文化领域的独角兽企业,在整合营销、电子商务、体育经纪、海外资源拓展和自有IP培育等领域有较为完整的布局。自2004年建站以来,虎扑共吸引了7000万+JRs加入。旗下拥有中国的专业体育网站——虎扑体育网。
目前,虎扑体育已成为集体育营销策划、赛事营销与管理、活动管理、公关传播、体育市场调研、新媒体运营、体育公益为一体的体育整合营销机构,为各大企业、品牌与机构提供全方位体育营销服务。旗下有手机应用:虎扑跑步、虎扑看球、虎扑体育、虎扑新声和识货等应用。
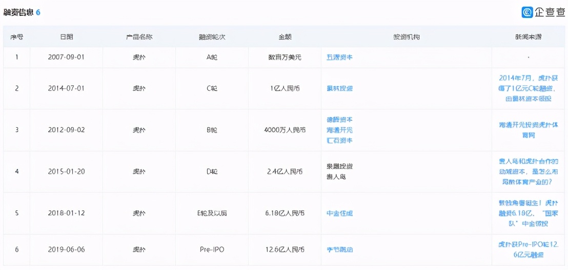
其发展至今共完成了6轮融资,其中2019年6月获得了字节跳动的12.6亿元pre-IPO轮投资,虎扑估值由此达到42亿元。
虎扑的商业模式
虎扑最初靠着在美国获取的一手NBA赛事信息,加之国内球迷类社区平台空白,迅速斩获一大批球迷,社区通过内容和用户群的活跃,聚集流量,广告成为了虎扑重要的盈利模式之一。
之后的虎扑并不满足单一体育社区,开始多元化尝试。
2007年,程杭与几位合伙人共同创办了上海雷傲普文化传播有限公司,虎扑开始探索公司化运营,并且试图利用内容或者衍生产品开始进行变现。
线下赛事IP方面,虎扑从2012年开始签约麦迪、艾佛森等NBA球星,在二三线城市进行篮球表演赛,然而这些项目由于推进缓慢未成气候。后来虎扑又打造了覆盖全国36座城市的自有篮球赛事IP“路人王”,如今在圈内拥有一席之地。
至于游戏业务,无论是范特西篮球经理的页游,亦或是《NBA英雄》、《球王之路》等H5游戏,都未能在业内泛起多大浪花。
在电竞上,虎扑先后成为英雄联盟、王者荣耀的顶级媒体合作伙伴,并签约赞助了 iFTY、4AM 和 17 三支绝地求生战队,虽然走得较为稳健,但跟财大气粗的斗鱼、虎牙相比,还是处于弱势。
电商方面,2009年,虎扑推出了自己主导的独立电商平台——卡路里商城,不过在淘宝的冲击下,并没有做起来。
但虎扑对于电商仍在坚持。2012年又推出了运动电商平台虎扑“识货”,采用的是蘑菇街的模式,即虎扑仅作为一个导购平台,为用户提供运动装备的购买服务,后来侵入耳机、笔记本电脑等数码领域,2020年则瞄准增速极快的美妆市场,以达成2023年GMV破500亿的目标。——虽然对比破万亿GMV的天猫、京东,虎扑识货简直没眼看,但仍承载着虎扑的电商梦。
虎扑的IPO进程
虎扑的IPO之路一直备受关注,却一波三折。
虎扑第一次冲击IPO是在2016年。当年4月虎扑向证监会递交上市材料,首次公开发行股票招股说明书。
然而不到一年,虎扑这一上市计划即遭夭折。2017年3月,虎扑赫然出现在证监会公布的年度首次公开发行股票申请终止审核企业名单中。
据当时市场分析,虎扑上市受挫的主因或是盈利能力不稳定,被部分市场人士认为“太过依赖广告”,“变现能力有限”。
此外,据市场分析,虎扑首次试图IPO以外,也疑似想要试图通过借壳的方式上市。
虎扑当时的选择是*ST亚星。据报道,2017年1月3日,*ST亚星曾发布公告称,“已终止的连续重大资产重组的标的资产为程杭持有的体育资产,标的资产具体范围尚未确定”。
*ST亚星重组交易失败被视作虎扑体育借壳上市计划的流产。2016年的两手准备,可见虎扑的上市愿望的确强烈,但不幸却均以失败告终。
时隔3年,虎扑再次开启上市之路。
据报道,2019年3月,虎扑在证监会登记了IPO辅导备案工作,4月底,证监会上海监管局网站披露,虎扑申请进入上市辅导期,辅导期时长大约一年。
虎扑的财务数据
虎扑的盈利模式非常单一,据2016年虎扑提交的招股书显示,2013年到2015年,虎扑的广告收入占比由55.64%上升至60.78%,而在广告方面,由于用户受众的单一化(男性用户),虎扑的广告赞助来源也受到一定限制,绝大部分来自体育领域。
相关数据上来看,虎扑的「直男」底色并未被稀释,截至2020年4月,虎扑总注册用户已超过7000万,日访问量1.6亿,虎扑的男性用户占比仍在90%左右——理论上来说,男性在追星上更有理性,这也让虎扑避免了粉丝对立、社区撕裂的危机。
2017年虎扑递交的招股书中,广告收入占比曾高达61%,包含电商在内的增值业务只占20%。收入的过分单一,也是当年虎扑上市折戟的原因之一。
虽有一定影响力,依靠广告和营销赚钱的虎扑依然没有钱。
直到2019年旗下购物平台得物的前身“毒APP”贡献了40%营收,以及字节跳动入股之后,虎扑才开始焕发第二春。
虎扑CEO程杭表示,虎扑截至2020年下半年的收入结构大致为广告、虎扑识货为主的电商,以及创新变现业务,而目前虎扑的收入仍集中在广告层面,占比仍高达48%,而后两者的收入占比分别为38%和14%。
虎扑的竞争对手
目前虎扑的主要竞争对手是腾讯体育和PP体育。同样以体育+社区的模式为基础并扩充业务,各自侧重点并不相同。腾讯体育与PP体育都掌握了顶级赛事的独家版权,在观赛方面与虎扑发展的赛事竞争用户较为激烈;虎扑则凭借自打造的线下路人王赛事在全国取得了较大的成功与良好的社区文化在市场上占领一席之地。
三者都推出了线上商城,主要商品为运动商品,虎扑识货主要商品为球鞋、运动服饰、健身器材、手机数码等,腾讯体育则依靠京东打造NBA周边的衣物,PP体育则是依靠苏宁打造线上PP会员店提供体育用品,品牌电视体育会员等商品。
变现方式:虎扑凭借平台图文直播与社区发展虎扑币业务用于直播送礼物、打赏;腾讯体育与PP体育则是依靠用户免广告,高画质,专享比赛等视频直播服务需求的会员模式变现。
综合业务模块来看,虎扑走发展自身赛事与建设社区再将用户引流到电商平台的发展道路,但是其变现模式依然局限在识货与虎扑币,至今还不能发展出像腾讯体育和PP体育一样的变现体系。
虎扑的风险投资提醒:
l 过于依赖广告收入,占比过高。虎扑第一次上市失败,一大原因便是业务模式太过单一,易使企业发展陷入被动局面。虽公司一直在尝试多元化的路径,但从2020年下半年营收结构来看,广告、电商、创新变现分别占比48%、38%、14%,收入仍然集中在广告层面。
l 流量群体过于集中。虎扑作为体育报道特别是篮球报道最及时的媒体型论坛,直男含量高,比例达90%,而这部分群体话题高度集中,这也易导致公司存在流量风险。
l 基本面是体育,赛事版权则是虎扑的命门。过于依托赛事报道,特别是当NBA赛事报道不确定时,也会带来一定的市场风险。
文章来源:IPO捕手,转载请注明出处
(作者:IPO捕手 )
声明:本文由21财经客户端“南财号”平台入驻机构(自媒体)发布,不代表21财经客户端的观点和立场。



