
今年5月,上上签合并云合同,至此,上上签、法大大、e签宝三巨头拿下79%的市场份额,电子签名第一梯队“三足鼎立”之势初成。
谁能想到,“电子签名”这个过去在企业数字化流程中并不起眼的一环,正在悄然从幕后走到台前,成为企业服务和公共资源数字化需求的升级中的重要部分。
早在几个月前,顺丰发布Q1财报,快递业务营收出现下滑,有业内人士分析称,电子签名的普及或许是顺丰业绩下滑的重要原因:电子签名的使用导致实际发票量增加,这也侧面反映出,电子签名行业已经开始加速驶入快车道。
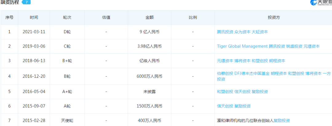
从市场来看,腾讯在2021年3月21日豪掷9亿人民币投资法大大;蚂蚁金服则是投资了另一头部企业e签宝,而字节跳动也拆分出了自己的电子签名企业“电子牵”。

据天眼查数据显示,中国电子签名的市场已经从2016年的8.5亿元增长至2020年的108.2亿元,电子签名的行业年均复合增长率为66.33%,在去年疫情的间接助推之下,电子签名迎来快速增长期,预计2023年,中国电子签名市场接近250亿元。
2016年,电子签名因为P2P而迎来一拨小高潮,那么这次电子签名又有多少想象空间?电子签名赛道的有限之处又在哪里?
且看本文拆解!
一、双高属性:to B/G业务的无限想象
2021年6月3日,全球电子签名头部玩家DocuSign发布了今年的第一季度财报,据财报显示,其2022财年Q1总收入为4.691亿美元,同比增长58%,订阅收入为4.519亿美元,同比增长61%,DocuSign相当于来了个“大丰收”。
几乎同一时间,谷歌对外公布自己的“办公地点工具”,用于协调员工远程办公或者搬迁办公;再往前,ZOOM等线上办公软件均在“电子数字化”捞了不少金,多个碎片化的信息背后,已经可以看出,电子签名即将迎来爆发。

将视线转向国内,创办于2002年的e签宝在2014年之前一直不温不火,但在2014年之后,e签宝敏锐的捕捉到互联网云端发展的趋势,就转型成为电子签名云服务公司,同时确定了“电子签名+”的战略模式,面向“互联网+”的应用市场,赋能各行业的数字化转型升级。
而另一选手“上上签”则算是后起之秀,早在2018年,上上签宣布合同签署量达到24亿,同比2017年增长200%,而到了2020年6月30日,上上签更是累计突破百亿,由此可见,电子签名市场增长之迅猛。
电子签名的迅猛发展顺应了国家的“数字化改革”浪潮,我们可以找到许多关于电子签名的相关政策规定:2019年《gwy关于在线政务服务的若干规定》中,计划建立权威、规范、可信的电子印章系统;紧接着在2020年11月,有关部门又发布《全国深化“放管服”改革优化营商环境方案》,拓展“互联网+政务服务”,推动电子认证方式,这为电子签名的发展做好了背书。
在《十四五》规划中,更是具体提到了“推进政务服务一网通办”,推广应用电子证件照、电子合同、电子签名等电子数字化措施。
我们可以看到,政府是乐于推动更多电子签约的使用,用于简化流程、方便管理,以此为智慧政务添砖加瓦,据天眼查数据显示,中国电子政务市场规模高达3000亿,这是一块很大的蛋糕。
有了政府向的推动,toB业务也就顺势增长。
电子签名应用场景非常广泛,并不局限于在线办公,还包括金融服务、政务服务、电子商务、医疗服务。

而对互联网巨头们来说,更低成本、更高效率,更高粘性才是各大巨头们看中的优势,电子签名的特征在于其具备“链式增长效应”,即成为万千企业用户之间的契约纽带,头部企业往往业务庞杂,使用更加高频,使用粘性也就更强。
而如果规模较大的企业率先实现电子签名,会对其有业务往来的中小企业形成共同的价值网络,拿下更多的大企业客户,进而带动中小企业客户入场,这才是企服获客的逻辑,所以基于此,互联网巨头们也就不会错过这个机会。
据天眼查数据显示,上上签在2019年合并了“众签”,在2021年上上签又合并了“浙江云合同”,合并之后,上上签以15.2%的市场份额居行业第三,距离法大大仅差一个身位,我们可以预想的是,上上签合并云合同之后,电子签名第一梯队已经基本形成吗,行业的终局之战也将很快迎来。
二、长期生意;电子签名的有限空间
电子签名的优势给了我们许多未来的想象,巨头们持续跟进也给了市场很大信心,但电子签名依旧存在其有限性。

其一,电子签名赛道呈现出主营to B和to G业务的行业特点,而不论是toB 还是toG,,即使在高市场规模的背后,往往也是一个慢生意,需要的是长时间的积累,长期资源的投放,产品、技术、商务、市场等都需要长时间耕耘,这也就意味着电子签名的生意想要像投资直播、短视频等短期收回收益不太现实。
其二,较窄的竞争空间。哪怕我们现在看到国内腾讯、阿里巴巴、字节跳动均在布局,而据不完全统计,国内电子签名企业超3000家,但头部选手的马太效应严重。据天眼查数据显示,e签宝、法大大和上上签三家分别占据了33.85%、20.50%、15.20%共计79.58%的市场份额,根据链式增长效应,头部玩家不断扩张之后,其他中小公司可能更没有机会,而将很快进入一个相对稳定的格局。
其三,运用场景还需突破。中国电子签名企业多集中在本地化部署,也就是集中在政府合作,相比起DocuSign主要提供在线审批、协议签署以及在线交易的服务,据天眼查数据显示,目前国内电子签名主要场景中,政务的应用比例最大,高达79.7%,其次则是政务,约为53.7%。
其四则是安全问题。在电子签名发展的初期,存在许多“浑水摸鱼”的企业,基于CA证书加密技术的电子签名,本身技术门槛并不高,电子签名的技术壁垒并不高,这也让许多用户为电子签名的安全问题担忧。

据天眼查数据显示,2021年中国客户最关心的问题是电子签名的信息安全性,比例高达57.4%,其次则是有47.9%的用户期望未来电子签名能够升级智能化管理系统,电子签名的安全性依旧是一个巨大的隐患。
当然,最重要的还是盈利问题。
当下的电子签名企业主要收入为合同签署费用、认证服务费、接口集成费用、服务器存储空间费等,电子签名企业虽然有着较强的工具性,但用户规模当前还较为有限,百亿市场分散到整个行业中,还不足以抵消各大选手们的运营成本,电子签名企业们还需要继续资源投入,占据先发为止,从“教育用户”阶段到“成熟付费阶段”,这一过程需要耗费的时间和资源只会更多。
当然,与DocuSign相比,国内电子签名企业背靠互联网巨头,以其自身流量为基础,或许能开辟出另一条发展之路:to C上亿级别的用户都是潜在的客户,在“跑马圈地”之后,或许又要回到toC业务的争夺之上。
到那时,签字笔是不是要迎来下岗?
参考资料:
数据来源:天眼查、艾瑞咨询
图片来源:网络
松果财经:从e签宝崛起,看电子签名价值几何
灵猫财经:数字化时代,电子签名玩家们如何突围?
周天财经:微信入局,电子签名会是新的风口吗?
(作者:每天学点经济学 )
声明:本文由21财经客户端“南财号”平台入驻机构(自媒体)发布,不代表21财经客户端的观点和立场。