《金融合规报告》是21世纪资管研究院旗下栏目,月度/半年度/年度发布。欢迎联系交流,联系人:唐曜华,tangyh1@21jingji.com
今年8月份金融机构共收到863张罚单,被处罚金额合计1.55亿,相比7月环比减少40.18%。其中银保监会及派出机构开出的罚单依然最多,共开653张罚单,合计处罚金额1.28亿。
从不同机构类型来看,8月银行业罚单数量和处罚金额依然最多,其中8月合计被罚金额过千万的银行有中国银行、中信银行。8月合计被罚金额最多的非银机构为新时代信托。
8月金融机构被列为被执行人和失信被执行人的次数环比略增,其中证券公司(含券商资管)被列为被执行人的数量大增,有167条,相比7月环比增377.14%。其中以国信证券最多,有142条被执行人信息。
一、金融行业8月被罚总体情况
二、银行机构和非银机构8月罚单排行
三、金融机构被罚缘由分布
8月银行业和保险业被处罚最多的违规原因为未依法履行职责,银行业违规经营、违反反洗钱法的罚单也不少。提供虚假资料证明文件、信息披露虚假或严重误导性陈述则为保险业处罚频次较高的违规行为。
四、金融机构被列为被执行人、失信被执行人情况
8月金融机构共有3526条被执行人信息(含已撤销,下同),相比上月环比增加9.23%。失信被执行人信息有19条,相比上月略增。
从不同机构金融机构来看,8月银行业有413条被执行人信息,相比上月环比略减少6.35%。其中抚顺银行被法院列为被执行人次数最多。其次是工商银行和农业银行。
保险公司8月份有2715条被执行人信息,相比上月环比增13.13%。
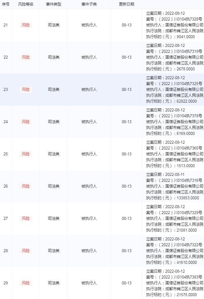
8月证券公司(含券商资管)被列入被执行人的数量大增,有167条,相比7月环比增377.14%。其中以国信证券最多,有142条被执行人信息,执行法院包括成都市锦江区人民法院、彭州市人民法院、成都市温江区人民法院、成都市青白江区人民法院、大邑县人民法院、金堂县人民法院等,其中以成都市锦江区人民法院最多。有律师告诉记者,执行法院和被执行人是同一个,有一种可能是集体诉讼,也有可能是同一性质的诉讼。
8月国信证券部分被执行人信息
基金公司8月份被法院列入被执行人的信息有70条,相比上月环比减少12.5%。其中被列入被执行人次数最多的是贺天(上海)资产管理有限公司。
信托公司8月有11条被执行人信息,相比上月减少。其中新华信托、五矿国际信托、渤海国际信托均有2条被执行人信息。
2、金融机构被列入失信被执行人名单情况
8月银行业机构仅中国邮政储蓄银行股份有限公司长沙市火星大道营业所被法院列入失信被执行人名单;保险公司中,中国人寿财产保险股份有限公司8月两次被列入失信被执行人名单,涉及分支机构泗洪县支公司、高安支公司。
私募基金有13条被法院列入失信被执行人名单的信息,其中以广州基岩资产管理公司上“老赖”名单的次数最多。
五、8月典型合规案例
1、8月银行业有11个罚单涉及“贪污、挪用、侵占银行或者客户的资金”
8月银行业的违规原因当中,除了未依法履行职责、违规经营、违反反洗钱法、涉嫌违反法律法规的罚单依然较多外,8月涉及“贪污、挪用、侵占银行或者客户的资金”的罚单也较多,共有11张罚单,包括浦发银行原客户经理挪用客户资金、邮储银行原员工挪用公款及违法发放贷款、农业银行员工利用职务便利挪用客户资金等均被罚。 “贪污、挪用、侵占银行或者客户的资金”案件的相关个人及责任人也因此收到罚单被重罚,有5人被罚终身禁止从事银行业工作。
通常侵占或挪用客户资金或给客户带来直接损失,挪用公款会给机构带来直接损失,因此处罚力度较大,尤其针对个人的处罚力度较大,通常会被终身禁止从事银行业工作。包括责任人也被终身禁止从事银行业工作,王莹因对挪用客户资金造成损失负有直接责任,王国飞和范文萍因对挪用公款、违法发放贷款行为负直接责任,均被罚终身禁止从事银行业工作。
2、加强金融消费者权益保护类处罚增多
金融消费者权益保护日益受到监管重视,相关罚单增多,并且处罚力度较大。8月份包含关键词“金融消费”的罚单有16张, 7月份也有10张相关罚单。
比如农业银行甘肃省分行8月份收到一张136.15万元的罚单,处罚的其中一项违规行为就包括“金融消费权益保护业务方面存在利用技术手段,强制消费者接受金融服务”, 并且“未对投诉进行正确分类并按时报送相关信息;投诉数据存在漏报等”。
农业银行厦门市分行因未按要求对金融消费者投诉进行正确分类且错报、漏报投诉数据、未按要求向金融消费者披露与金融产品和服务有关的重要内容等违法违规行为被警告并罚款196.5万元。
江西银行因未按要求向金融消费者披露与金融产品和服务相关的重要内容、违反信用信息采集、提供、查询及相关管理规定等违法违规行为被警告并罚款324.5万元。
(企业预警通为本文提供数据支持)
(作者:唐曜华 编辑:方海平)
南方财经全媒体集团及其客户端所刊载内容的知识产权均属其旗下媒体。未经书面授权,任何人不得以任何方式使用。详情或获取授权信息请点击此处。

















