一、证券市场回顾
同花顺数据显示,昨日(09月14日,下同),上证综指日内下跌0.8%,收于3237.54点,最高3250.8点;深证成指日内下跌1.25%,收于11774.78点,最高11841.18点;创业板指日内下跌1.83%,收于2503.82点,最高2527.28点。北向资金由上个交易日的流入39.71亿元转变成流出14.14亿元。
二、ETF市场表现
1、股票型ETF整体市场表现
昨日股票型ETF收益率中位数为-1.06%。其中按照不同分类,规模指数中,科创ETF收益率最高,为0.02%;行业指数中,嘉实上证科创板新一代信息技术ETF收益率最高,为0.91%;策略指数中,质量ETF收益率最高,为-0.59%;风格指数中,嘉实新兴科技100ETF收益率最高,为-0.57%;主题指数中,国防ETF收益率最高,为1.67%。
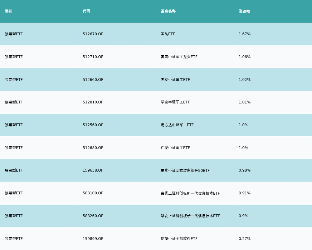
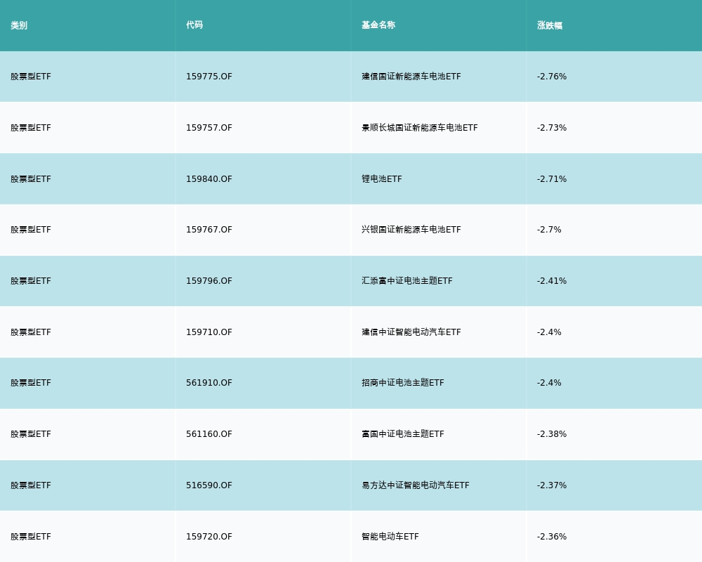
2、股票型ETF涨跌幅排行
昨日股票型ETF涨幅最高的3支ETF及其收益率分别为:国防ETF(1.67%)、富国中证军工龙头ETF(1.06%)、国泰中证军工ETF(1.02%)。涨幅前10详情见下表:
昨日股票型ETF跌幅最大的3支ETF及其收益率分别为:建信国证新能源车电池ETF(-2.76%)、景顺长城国证新能源车电池ETF(-2.73%)、锂电池ETF(-2.71%)。跌幅前10详情见下表:
3、股票型ETF资金流向
昨日股票型ETF资金流入最多的3支ETF及其流入金额分别为:华夏上证50ETF(流入11.38亿元)、华泰柏瑞沪深300ETF(流入5.07亿元)、南方中证500ETF(流入2.98亿元)。资金流入前10详情见下表:
昨日股票型ETF资金流出最多的3支ETF及其流入金额分别为:光伏ETF(流出2.06亿元)、华安上证180ETF(流出1.95亿元)、易方达创业板ETF(流出1.89亿元)。资金流出前10详情见下表:
三、机构观点
①东莞证券认为,面对大国间竞争带来的不确定性,各国都纷纷开始加强自身军备或上调国防预算,新一轮军备竞赛有愈演愈烈趋势,国内与国外的采购订单或都将大幅增加。此外,今年是国企改革“收官之年”,从近期密集公布的回购、股权激励计划、增持等公告可以发现,军工企业改革在提速,预计将会激活军工企业活力。
②中航证券指出,过去三年连续中报行情,以及今年“缺失”的中报行情,反映出市场对军工行业的认知,早已从“主题”走向了“价值”。距离年底仅有四个月,订单和业绩的兑现对于军工行业而言将显得尤为重要。中航证券认为,军工企业三季度的生产交付将会尤其饱满。一方面为了回补二季度由于疫情导致交付不畅等因素带来的缺口,另一方面为了应对疫情不确定性,会将四季度任务尽可能提早超前完成。当前军工行业整体估值处于价值区间,对中长期资金来说,是具备较高性价比和吸引力的。
(作者:黄佩铭,实习生周韵琪 编辑:梁明)
21世纪经济报道及其客户端所刊载内容的知识产权均属广东二十一世纪环球经济报社所有。未经书面授权,任何人不得以任何方式使用。详情或获取授权信息请点击此处。





