ETF基金日报(11月16日)丨动漫游戏ETF领涨,机构:持续看好元宇宙、游戏引擎的长期成长前景
一、证券市场回顾
同花顺数据显示,昨日(11月16日,下同),上证综指日内下跌0.45%,收于3119.98点,最高3145.75点;深证成指日内下跌1.02%,收于11235.56点,最高11385.87点;创业板指日内下跌1.19%,收于2402.91点,最高2443.79点。北向资金由上个交易日的流入81.54亿元降低至流入9.98亿元。
二、ETF市场表现
1、股票型ETF整体市场表现
昨日股票型ETF收益率中位数为-0.765%。其中按照不同分类,规模指数中富国国证疫苗与生物科技ETF收益率最高,为0.3%;行业指数中电力ETF收益率最高,为0.76%;策略指数中南方富时中国国企开放共赢ETF收益率最高,为-0.03%;风格指数中华夏中证智选500价值稳健策略ETF收益率最高,为-0.28%;主题指数中国泰中证沪港深动漫游戏ETF收益率最高,为1.92%。

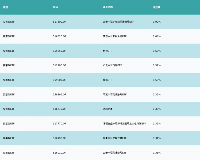
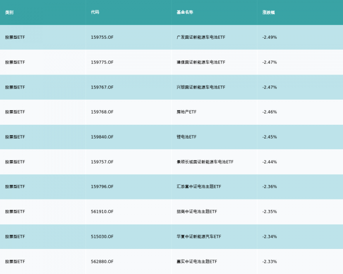
2、股票型ETF涨跌幅排行
昨日股票型ETF涨幅最高的3支ETF及其收益率分别为:国泰中证沪港深动漫游戏ETF(1.92%)、国泰中证影视主题ETF(1.64%)、影视ETF(1.63%)。涨幅前10详情见下表:

昨日股票型ETF跌幅最大的3支ETF及其收益率分别为:广发国证新能源车电池ETF(-2.49%)、建信国证新能源车电池ETF(-2.47%)、兴银国证新能源车电池ETF(-2.47%)。跌幅前10详情见下表:

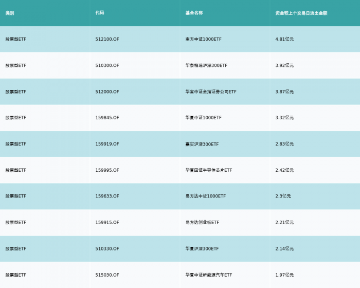
3、股票型ETF资金流向
昨日股票型ETF资金流入最多的3支ETF及其流入金额分别为:易方达沪深300医药ETF(流入2.17亿元)、鹏扬中证500质量成长ETF(流入1.74亿元)、国泰中证军工ETF(流入1.28亿元)。资金流入前10详情见下表:

昨日股票型ETF资金流出最多的3支ETF及其流入金额分别为:南方中证1000ETF(流出4.81亿元)、华泰柏瑞沪深300ETF(流出3.92亿元)、华宝中证全指证券公司ETF(流出3.87亿元)。资金流出前10详情见下表:

三、机构观点
① 端游市场有望重新打开游戏市场新空间
上海证券:端游市场在需求层面及供给层面均出现明显的利多因素和市场空间,继手游之后有望重新打开游戏市场新空间。
② 持续看好元宇宙、游戏引擎的长期成长前景
华泰证券:游戏引擎作为元宇宙内容的创作工具,具有较大的发展空间。从趋势上看,观察到游戏引擎的功能持续迭代丰富,同时随着定制化程度的增加,订阅价格同样具有一定的上行空间。持续看好元宇宙、游戏引擎的长期成长前景。
③ 观影需求旺盛 长视频平台盈利有望改善
兴业银行:在疫情将边际好转、优质影片供应下,观众观影需求仍然旺盛,2021年以来,多家影视网站相继宣布了提高会员价格,带动ARPU值提升;同时随着视频网站自制比例的提高,长视频内容成本得到有效的控制。长期而言,长视频平台的盈利情况有望改善。
④ 防疫政策优化或推动线下媒体复苏
天风证券:11日,国务院应对新冠疫情联防联控机制综合组发布《关于进一步优化新冠肺炎疫情防控措施科学精准做好防控工作的通知》,进一步优化防控工作的二十条措施,随疫情政策优化,预计线下媒体有望展现复苏迹象。
(作者:方楚槟,实习生蒯晶 编辑:梁明)