ETF基金日报(12月13日)丨畜牧养殖ETF领涨,机构:春节有望带动需求回暖,养殖企业进入盈利兑现期
一、证券市场回顾
同花顺数据显示,昨日(12月13日,下同),上证综指日内下跌0.09%,收于3176.33点,最高3187.2点;深证成指日内下跌0.66%,收于11323.7点,最高11400.01点;创业板指日内下跌1.05%,收于2376.2点,最高2404.88点。北向资金由上个交易日的流出43.38亿元降低至流出9.47亿元。
二、ETF市场表现
1、股票型ETF整体市场表现
昨日股票型ETF收益率中位数为-0.495%。其中按照不同分类,规模指数中富国国证疫苗与生物科技ETF收益率最高,为0.94%;行业指数中交运ETF收益率最高,为1.38%;策略指数中华泰柏瑞上证红利ETF收益率最高,为0.61%;风格指数中上证180价值ETF收益率最高,为0.52%;主题指数中招商中证畜牧养殖ETF收益率最高,为2.61%。

2、股票型ETF涨跌幅排行
昨日股票型ETF涨幅最高的3支ETF及其收益率分别为:招商中证畜牧养殖ETF(2.61%)、平安中证畜牧养殖ETF(2.55%)、畜牧ETF(2.52%)。涨幅前10详情见下表:

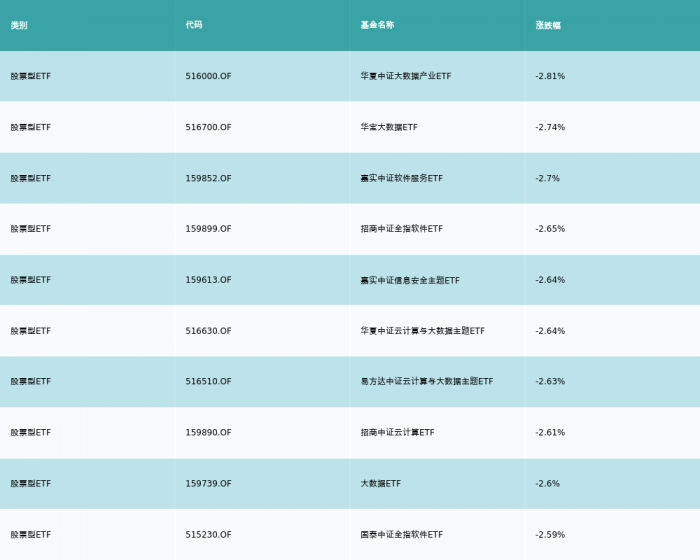
昨日股票型ETF跌幅最大的3支ETF及其收益率分别为:华夏中证大数据产业ETF(-2.81%)、华宝大数据ETF(-2.74%)、嘉实中证软件服务ETF(-2.7%)。跌幅前10详情见下表:

3、股票型ETF资金流向
昨日股票型ETF资金流入最多的3支ETF及其流入金额分别为:鹏扬中证科创创业50ETF(流入8.75亿元)、嘉实沪深300ETF(流入2.86亿元)、华泰柏瑞沪深300ETF(流入2.79亿元)。资金流入前10详情见下表:

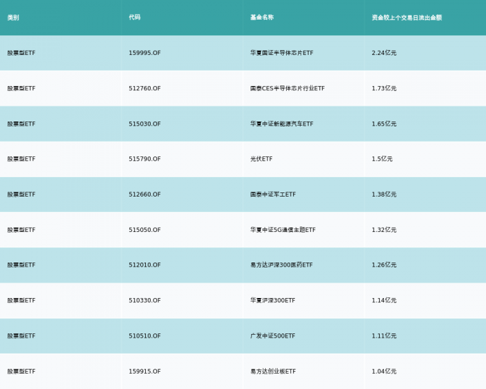
昨日股票型ETF资金流出最多的3支ETF及其流入金额分别为:华夏国证半导体芯片ETF(流出2.24亿元)、国泰CES半导体芯片行业ETF(流出1.73亿元)、华夏中证新能源汽车ETF(流出1.65亿元)。资金流出前10详情见下表:

三、机构观点
①猪企估值跌至历史低位 23年主流猪企有望获业绩增长
华安证券:目前上市猪企估值已先于基本面调整到位,二线龙头猪企估值已跌至历史底部区域,一线龙头猪企估值已跌至历史低位。在当前估值低谷期,生猪养殖行业配置正当时:i)2023年主流猪企出栏量将进一步提升,头均市值将进一步回落;ii)猪价回落速度或慢于预期,2023年主流猪企或实现利润同比正增长。
②春节有望带动需求回暖 养殖企业进入盈利兑现期
中原证券:临近春节有望带动消费端需求回暖,养殖户在消费旺季有望加快出栏,生猪将进入阶段性供需双增的局面,预计 2023 年春节前猪价仍维持高位震荡。生猪养殖盈利水平在 2022 年 10 月末到达年内高点后震荡回调,猪企业绩尚未完全体现出养殖盈利水平的提升,2022Q4 生猪养殖公司有望进一步释放盈利弹性。
畜禽生产产能触底回升,叠加成本端压力的缓解,饲料企业盈利能力有望迎来周期复苏。

(作者:方楚槟,实习生吕宇浩 编辑:梁明)