同花顺数据显示,昨日(12月20日,下同),上证综指日内下跌1.07%,收于3073.77点,最高3100.75点;深证成指日内下跌1.58%,收于10949.12点,最高11092.86点;创业板指日内下跌1.53%,收于2310.8点,最高2340.73点。北向资金由上个交易日的流出14.91亿元转变成流入11.56亿元。
1、股票型ETF整体市场表现
昨日股票型ETF收益率中位数为-1.34%。其中按照不同分类,规模指数中鹏华上证科创板50成份增强策略ETF收益率最高,为0.0%;行业指数中嘉实国证绿色电力ETF收益率最高,为0.34%;策略指数中平安富时中国国企开放共赢ETF收益率最高,为-0.48%;风格指数中华夏中证智选1000成长创新策略ETF收益率最高,为-0.59%;主题指数中国泰中证光伏产业ETF收益率最高,为0.05%。

2、股票型ETF涨跌幅排行
昨日股票型ETF涨幅最高的3支ETF及其收益率分别为:嘉实国证绿色电力ETF(0.34%)、国泰中证全指通信设备ETF(0.22%)、广发中证全指电力ETF(0.19%)。涨幅前10详情见下表:

昨日股票型ETF跌幅最大的3支ETF及其收益率分别为:建信中证饮料主题ETF(-3.78%)、华夏中证细分食品饮料产业主题ETF(-3.55%)、华宝中证细分食品饮料产业主题ETF(-3.52%)。跌幅前10详情见下表:

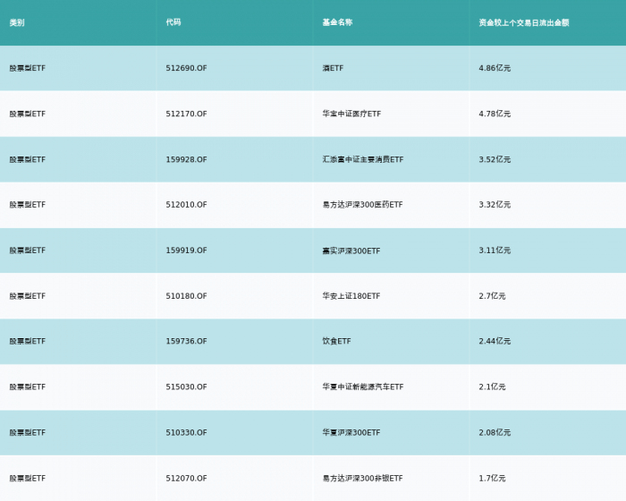
3、股票型ETF资金流向
昨日股票型ETF资金流入最多的3支ETF及其流入金额分别为:鹏扬中证科创创业50ETF(流入8.3亿元)、南方中证500ETF(流入7.44亿元)、广发中证1000ETF(流入3.84亿元)。资金流入前10详情见下表:

昨日股票型ETF资金流出最多的3支ETF及其流入金额分别为:酒ETF(流出4.86亿元)、华宝中证医疗ETF(流出4.78亿元)、汇添富中证主要消费ETF(流出3.52亿元)。资金流出前10详情见下表:

① 风电招标量维持高位 海上风电高增长进入兑现期
中银证券:风电招标量维持高位,整体需求景气持续验证,海上风电高增长进入兑现期。整机价格持稳有助于稳定产业链盈利中枢,大宗原材料价格松动有望修复中游盈利能力,产业链方面,建议优先配置业绩增速有望匹配或超越行业需求增速的海风、国产化环节的龙头企业。海风方面,海缆、桩基环节或受益于2023年海风需求同比翻倍式增长;此外,深远海化是海风长期发展的大方向,漂浮式风机项目逐步落地或带动锚链环节需求快速增长。
② 我国用电需求较为旺盛 发电装机呈现绿色发展趋势
东莞证券:今年下半年以来,随着我国持续推进稳经济政策,工业生产有序恢复,我国用电需求较为旺盛。在发电端,随着我国积极推进能源结构转型,太阳能发电、风电机组装机容量快速提升。总体而言,我国发电装机呈现绿色发展趋势。
③ 重大能源工程将提振电力行业发展预期
国信证券:预计扩大内需战略规划的贯彻落实短期有利于国内可再生能源建设加速和电动车消费需求,中长期可促进更多的重大能源工程规划和批复,提振电力行业发展预期。

(作者:方楚槟,实习生吕宇浩 编辑:梁明)