一、证券市场回顾
同花顺数据显示,昨日(2月06日,下同),上证综指日内下跌0.76%,收于3238.7点,最高3250.35点;深证成指日内下跌1.18%,收于11912.56点,最高11977.24点;创业板指日内下跌1.4%,收于2544.09点,最高2560.46点。北向资金由上个交易日的流出42.46亿元降低至流出5.43亿元。
二、ETF市场表现
1、股票型ETF整体市场表现
昨日股票型ETF收益率中位数为-1.15%。其中按照不同分类,规模指数中国泰标普500ETF收益率最高,为0.0%;行业指数中国泰中证全指软件ETF收益率最高,为0.76%;策略指数中红利LV收益率最高,为-0.21%;风格指数中华夏中证智选1000价值稳健策略ETF收益率最高,为-0.19%;主题指数中华夏中证动漫游戏ETF收益率最高,为1.96%。

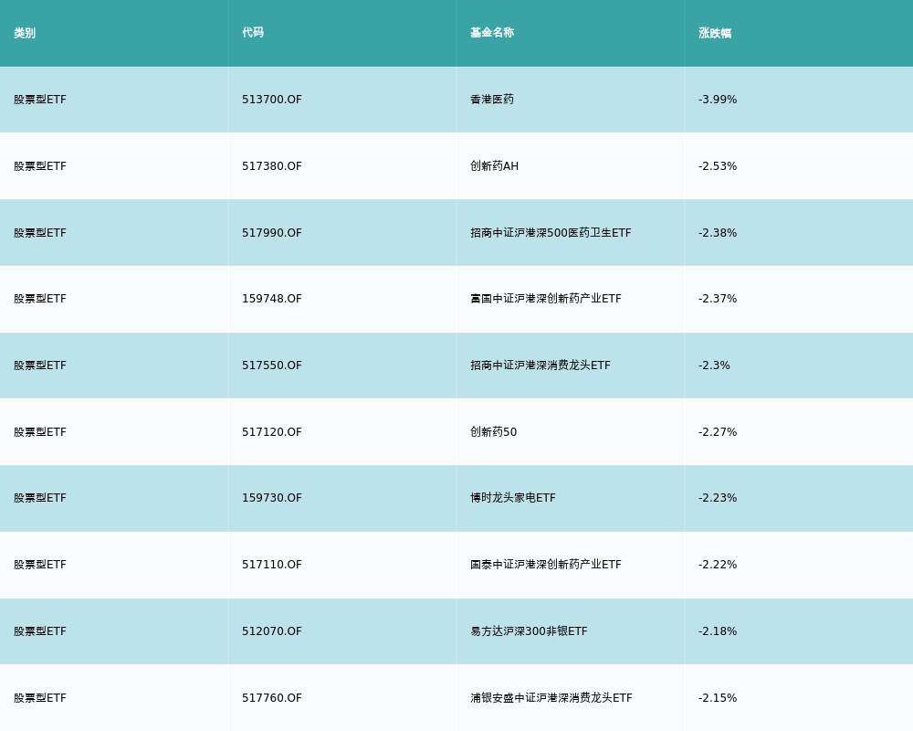
2、股票型ETF涨跌幅排行
昨日股票型ETF涨幅最高的3支ETF及其收益率分别为:华夏中证动漫游戏ETF(1.96%)、国泰中证动漫游戏ETF(1.93%)、游戏动漫(1.93%)。涨幅前10详情见下表:

昨日股票型ETF跌幅最大的3支ETF及其收益率分别为:香港医药(-3.99%)、创新药AH(-2.53%)、招商中证沪港深500医药卫生ETF(-2.38%)。跌幅前10详情见下表:

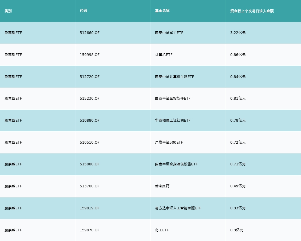
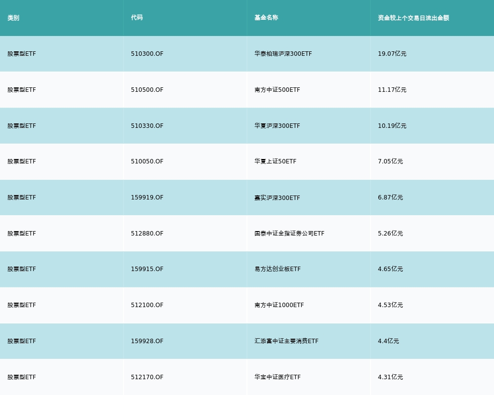
3、股票型ETF资金流向
昨日股票型ETF资金流入最多的3支ETF及其流入金额分别为:国泰中证军工ETF(流入3.22亿元)、计算机ETF(流入0.86亿元)、国泰中证计算机主题ETF(流入0.84亿元)。资金流入前10详情见下表:

昨日股票型ETF资金流出最多的3支ETF及其流入金额分别为:华泰柏瑞沪深300ETF(流出19.07亿元)、南方中证500ETF(流出11.17亿元)、华夏沪深300ETF(流出10.19亿元)。资金流出前10详情见下表:
三、机构观点
①AIGC等新科技加持 游戏板块有望超预期修复
国信证券:悲观预期与底部的景气度背景下,板块及头部游戏公司估值、机构持仓占比均处于历史低位,监管转向、市场环境整体改善、行业回暖之下,具备戴维斯双击的客观基础;中长期来看,以VR/AR、AIGC、元宇宙、WEB3等为代表的新科技、新模式渐行渐近,游戏作为最佳的内容承载主体之一,估值乃至基本面具备超预期修复的可能。
②AIGC在游戏领域应用值得关注
开源证券:AIGC在游戏领域的应用值得重视,当前的应用或仍主要在图像渲染等画面美工方面,随着模型迭代,未来AIGC或更深入的参与游戏开发,提升开放世界游戏的开放效率,降低开发成本。ChatGPT开启商业化或预示着生成式AI市场空间打开;模型开发方面,具备人才、资金、数据优势的互联网公司或更有优势。
(作者:方楚槟 编辑:梁明)
财经日历丨掌握全球大事 预知财经要闻 速读经济数据 把握交易提示
21世纪经济报道及其客户端所刊载内容的知识产权均属广东二十一世纪环球经济报社所有。未经书面授权,任何人不得以任何方式使用。详情或获取授权信息请点击此处。

