下周会发生什么事情?
在类似“ChatGPT”的AI新概念被推出之后,这些AI相关方向公司估值在短期会迎来一轮“例行”重估,但在新的一轮商业化受阻之后,“短期高估,长期低估”的常态,不会发生改变。

下周,ChatGPT概念股会继续高歌猛进,还是偃旗息鼓?
这中间最疯狂的莫过于7个涨停的汉王科技,这只股票的命运会走向哪里,它到底有没有核心技术。
2月10日,汉王科技针对深交所的关注函作出回复,公司股价也在当天回调超过5%。历经7天涨停、9天热炒之后,市场对这只“ChatGPT概念龙头”,似乎进入了贤者模式。
而在市场之外,汉王科技对于ChatGPT相关的NLP相关技术,开发支出最早出现在2021年,规模则不超过2200万,至于项目到达可使用状态的时间,则延期至2025年底。两年的跳票时间,已经足以浇灭资本市场的热情。
在相关人士看来,中国互联网如果要做成 ChatGPT 同类产品,不外乎算法、算力、数据、产品、场景五大要素,更不用说研发与资金的长期投入。若从这个标准去要求在转型路上挣扎的汉王科技,似乎有些强人所难。
汉王不是时间的朋友
十多年前,当手写输入的智能笔、数位板还是大龄高管刚需的时代,汉王科技也曾做过“小甜甜”。彼时的电脑手写识别市场,七成份额由汉王科技占据。
但这部分市场需求存在的前提是,用户缺乏输入法基础,需要另外的手写设备来完成一次转换。很显然,当用户教育水平越高,市场萎缩的预期就变得肉眼可见。
正因如此,汉王科技开始了第一次战略转型。2009年推出的电纸书,让汉王吃下了95%的市场份额。仅仅靠这样一个明星单品,公司在2010年成功上市,营收也从2008年的不到3亿元增至2010年的12.37亿元。
初代iPad的上市时间,同样是2010年。再过一两年,亚马逊的kindle亦紧随其后上市。房间里凭空刷出的两头大象,把刚刚IPO的汉王逼进了死角。2012年的财报数据显示,汉王此前大热的电纸书产品线,当年销售收入仅余6900万元,汉王科技的第一次转型之路就此胎死腹中。
2017年,公司把旗下业务调整成笔智能交互、文本大数据、AI终端、人脸识别。2022半年报数据显示,笔智能交互占据公司营收的63%,成了绝对的营收大头,文本大数据和人脸识别、AI终端则分别占据公司营收的13%、6%和14%。需要指出的是,所谓的笔智能交互业务,实际是汉王此前的数位板、智能笔输入、轨迹等成熟业务合并而来。至于后面的文本大数据、AI终端、人脸识别,则是汉王“AI”属性较强的业务。
在失去电纸书这一支柱业务之后,汉王并非无牌可打——由于此前在手写输入、人像识别与OCR字符识别领域有较长时间的技术积累,公司也被认为是国内较早的一批AI企业。但在近十年的战略转型过程中,除了原有的电纸书与触控笔以及手写识别业务,汉王科技似乎从未找到自己真正的方向。
如公司的人脸识别业务,2009年已经为公司创造营收,但始终未能成为主力业务。营收规模在最高时仅有1亿,长期营收占比不超过10%。
在研发项目上,公司同样缺乏战略定力。2019年财报显示,公司投入研发的项目共有4个,其中临床大数据科研平台、电子卷宗智能生成校验平台、电纸书全志新平台导入项目为当年立项。2020年,公司再次上马4个新项目,2021年,集成公司NLP与OCR技术的新一代自然语言认知技术与文本大数据开放平台及应用系统立项,并成为此次热炒的核心驱动因素之一。
但从项目周期来看,公司新项目持续时间并不长,如临床大数据科研平台和电子卷宗平台的开发时间仅有一年,客户导向与销售导向极为明显,除了在手写识别、文档扫描这类基本盘项目上能有技术积淀,以一年或者两年为单位,很难把开发经验转化为公司的技术优势。
类似的问题同样在专利情况上有所体现。企查查数据显示,汉王科技在2020年后,处于有效状态的发明公布与发明授权总共17个,但技术领域覆盖了人脸识别、飞行器控制,嗅觉检测、血压检测等领域,由此观之,除了文本识别,汉王科技的研发在其他业务领域并未有太多突破性成果,一直宣传的转型,也转了个寂寞。
做ChatGPT,汉王的钱够吗?
做ChatGPT真的很烧钱。
据美国《财富》杂志报道,ChatGPT母公司OpenAI预计2022年总收入为3600万美元。但本年度公司成本就烧掉了5亿多美元,其中旧金山办公室拥有375名机器学习领域的专家,光是这部分人才的开支,一年就是2亿美元。
如果与汉王科技进行对比,2021年报显示,公司实现营收16.13亿元人民币,其中用于项目开发的研发费用水平在1.83亿元,占公司总营收11.3%。汉王科技并非科创板公司,超过10%的占比并不算低,但相对于“ChatGPT”这类高投入模型来说,仍然是杯水车薪。
人员开支只是固定投入。36氪数据显示,对于ChatGPT这类模型来说,一次系统性的训练可能就要花费数十万美元,而且实际情况中可能的数据漂移,可能会导致数次重新训练,成本又将成倍上升。据估算,OpenAI的模型训练成本高达1200万美元,GPT-3的单次训练成本高达460万美元。正因如此,机器学习和AI公司的毛利与其他领域的软件公司相比,并不算高,其他公司的毛利可能在60%-80%,但机器学习公司的毛利可能只有50%-60%。
从毛利水平来说,汉王科技大部分时间都在50%的水平线上,但公司的净利润率只有2020年超过10%,常年在5%以下挣扎,且在近年来处于下降趋势。加上原本并不算高的利润水平,公司真正能加码到技术研发上的资金寥寥无几。
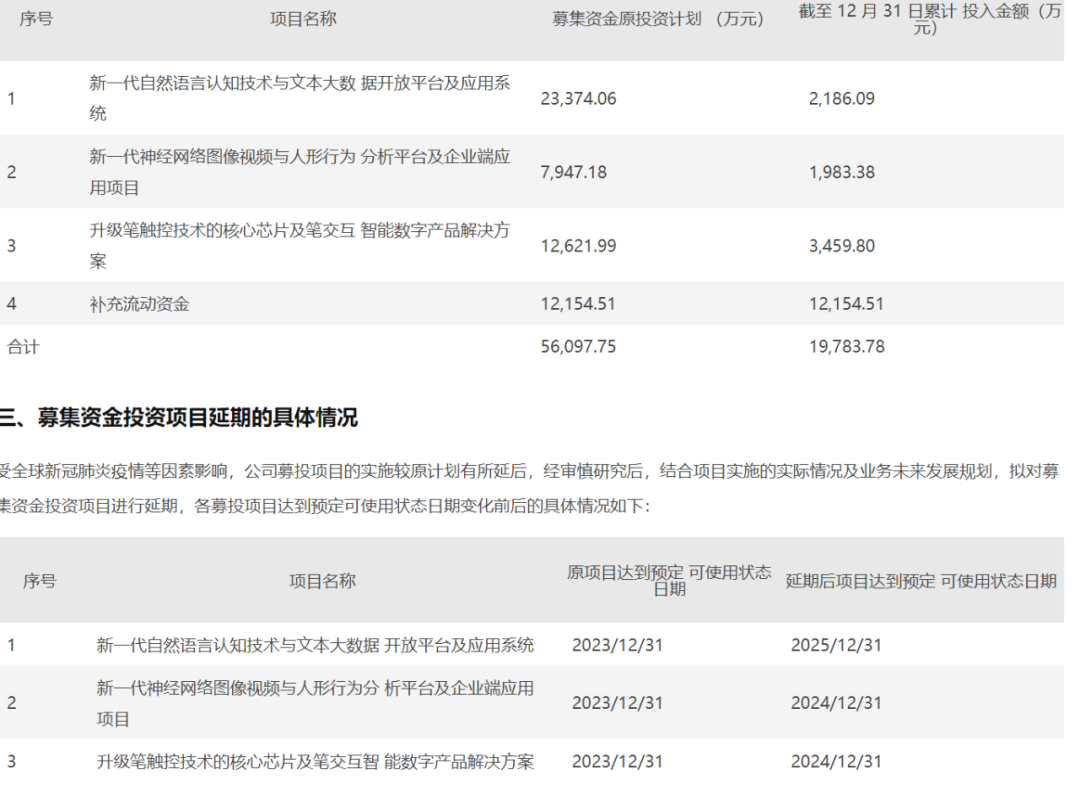
正因如此,在与ChatGPT相关的NLP和OCR相关项目上,汉王科技才需要进行定增融资。公告显示,2020年5月13日,公司有过一次6亿的定向增发,其中2.5亿将会投入“新一代自然语言认知技术与文本大数据开放平台及应用系统”。2021年报显示,在本年年初,前述项目期初余额为0,可见是在2021年内项目启动开发,该年投入金额为2108万元。
但2022年1月的公告显示,原定于2023年底达到预定可使用状态的各个系统,都发生了不同程度的延期,前述NLP项目延期的时间最长。2.3亿的预定资金历经一年的使用,投入仅为2186万,不到十分之一。如果扣除2021年度的投入,不难计算出这个所谓文本大数据平台在2022年度的投入仅为78万元,开发力度急剧降低。

与之相对,在公司声称“布局多年”的NLP及OCR技术领域,2020年后相关发明公布只有两个“文本行语种识别方法、装置、电子设备”相关专利,且尚未通过实质审查,公司虽然身在“ChatGPT概念股”的快车,但技术底色显然并不牢靠。
相比之下,百度仅仅在2022年Q3,研发投入就有58亿元,核心研发费率8个季度超过20%,2021年全年研发投入超过221亿元。不得不承认的另外一点是,仅指国内自然语言处理( NLP) 领域,百度是唯一一家拥有全栈 AI 技术架构的公司。
根据最新的关注函回复,汉王科技也并未进行大型通用模型的研发与训练的投入,虽然基于OCR、NLP 等核心技术研发相关产品。但多数集中于手写识别、档案识别等细分领域,与ChatGPT存在明显差异。同时,2021 年及 2022 年上半年公司文本大数据业务占总体营收比例分别为 15.24%、13.15%,离成为公司的主力业务同样很远。
一场让人摸不清头脑的大涨
在汉王科技自身看来,公司的主要竞争对手并不是已经有大模型的百度,而是像拥有NLP相关技术的科大讯飞等公司。
更新版的投资者关系回复中,科大讯飞表示,ChatGPT主要涉及到自然语言处理相关技术,属于认知智能领域的应用之一。在认知智能领域,科大讯飞面向行业开源的中文预训练语言模型超过40个。具体应用上,科大讯飞选择将其集成至AI学习机终端,最早在今年5月进行产品级发布。
同时,在正式官宣将在3月上线百度版ChatGPT“文心一言”后,百度创始人李彦宏在2月9日表示,无论是AIGC还是ChatGPT,都是AI发展到一定阶段后新的机会。与微软bing类似,“文心一言”发布后,将会嵌入到百度主要的搜索服务之中。
上述互联网大厂的动作,同样印证了创道投资总经理步日欣的判断,在他看来,ChatGPT商业化落地的场景,和别的AI技术,在商业逻辑上并没有本质区别,肯定会成为一个底层的辅助工具,就像人脸识别一样,作为赋能平台的一个功能而已,很难独立衍生出新的商业模式。
同时,步日欣所在的一级市场,已经为“AI”概念交过太多学费,原因不外乎对想象空间的误判,导致估值泡沫,进而导致投资损失,这在人脸识别、NLP、语音识别等领域都上演过。正因如此,相对二级市场的火热,一级市场投资人对于“ChatGPT概念”的热情,反而不算高涨。
在另一位科技投资人看来,无论何种技术创新,本质上还是要转化成商业利润。即便估值折现了未来现金流,但对于当下而言,业绩仍然是重要驱动因素。目前的上市或未上市的AI公司,如商汤、依图、旷视等等,无论是估值乏力抑或是上市受阻,业绩乏力固然占主要因素,还有的原因就是应用方向太窄。主要集中于图像领域,在通用性上与ChatGPT存在差距。
这在某种意义上解释了汉王科技目前面临的困局。与百度、科大讯飞相比,汉王规模较小,资金实力较弱,不足以进行底层模型的开发,项目以客户导向的应用型产品为主。正是因为同样的原因,即便公司在手写文本识别、档案数字化等领域有领先技术,但由于通用性较小,并不足以对百度、科大讯飞等公司进行正面对抗。
正因如此,在一个类似“ChatGPT”的AI新概念被推出之后,这些AI相关方向公司估值在短期会迎来一轮“例行”重估,但在新的一轮商业化受阻之后,“短期高估,长期低估”的常态,不会发生改变。
至于汉王这类“ChatGPT”概念股,一位资深二级市场交易员告诉陆玖商业评论,从监管风向来看,目前市场行情较为低迷,大盘刺激向上成为主旋律。
由于汉王本身盘子较小,涨停所需资金不多,对市场扰乱程度亦有限。针对“ChatGPT”这类题材的短期炒作,监管层除了关注函这类必要动作,主动出手干涉的概率并不算高。
在他看来,汉王科技被寻找新概念的游资坐庄,并无太多悬念。只要题材有相关性,游资就会蜂拥入场,与是否实际拥有业务无关,更与产业本身发展概率无关。正因如此,他对于汉王科技的走向也持有相当直接的判断:
“等大家都明白什么事的时候,击鼓传花的游戏便会结束。”
(作者:陆玖财经 )
声明:本文由21财经客户端“南财号”平台入驻机构(自媒体)发布,不代表21财经客户端的观点和立场。