同花顺数据显示,3月12日(下称昨日)上证综指日内下跌0.41%,收于3055.94点,最高3075.13点;深证成指日内上涨0.51%,收于9630.55点,最高9649.74点;创业板指日内上涨0.83%,收于1906.04点,最高1915.09点。北向资金由上个交易日的流入102.61亿元降低至流入42.44亿元。
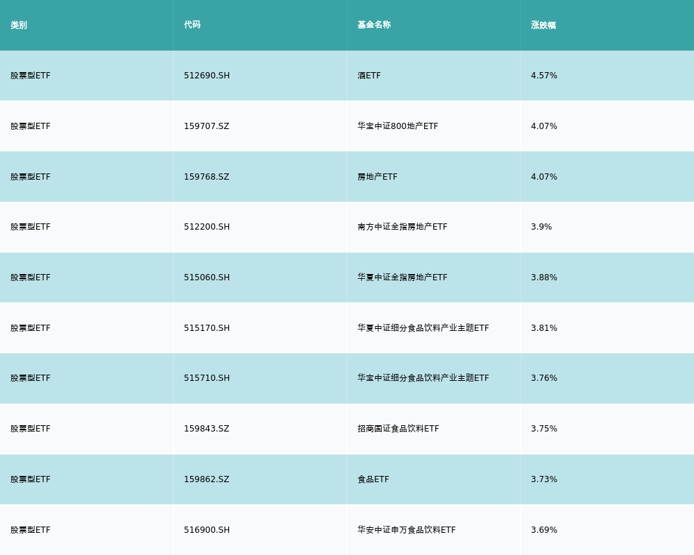
昨日股票型ETF收益率中位数为0.3%。其中按照不同分类,规模指数中2000增强ETF收益率最高,为1.9%;行业指数中华宝中证800地产ETF收益率最高,为4.07%;策略指数中质量ETF收益率最高,为2.01%;风格指数中嘉实医药健康100ETF收益率最高,为1.73%;主题指数中酒ETF收益率最高,为4.57%。

昨日股票型ETF涨幅最高的3支ETF及其收益率分别为:酒ETF(4.57%)、华宝中证800地产ETF(4.07%)、房地产ETF(4.07%)。涨幅前10详情见下表:

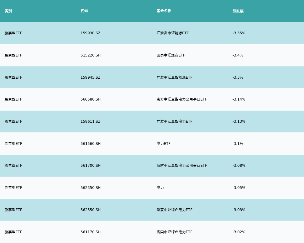
昨日股票型ETF跌幅最大的3支ETF及其收益率分别为:汇添富中证能源ETF(-3.55%)、国泰中证煤炭ETF(-3.4%)、广发中证全指能源ETF(-3.3%)。跌幅前10详情见下表:

昨日股票型ETF资金流入最多的3支ETF及其流入金额分别为:华泰柏瑞沪深300ETF(流入20.27亿元)、华夏上证50ETF(流入16.15亿元)、嘉实沪深300ETF(流入9.4亿元)。资金流入前10详情见下表:

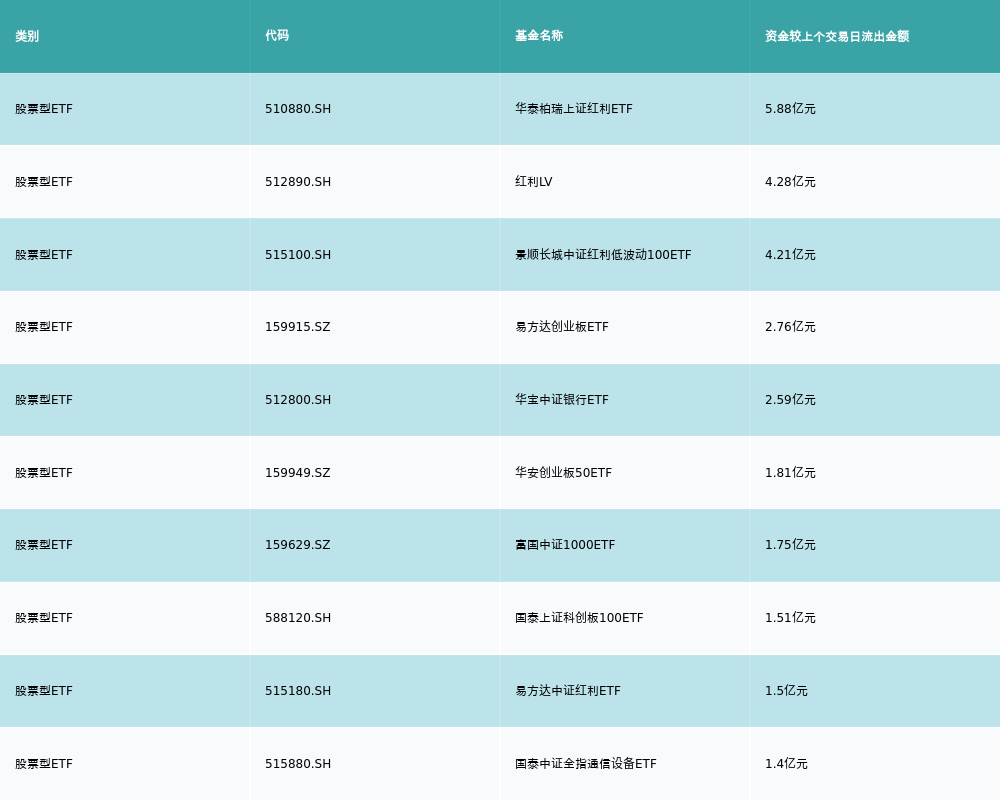
昨日股票型ETF资金流出最多的3支ETF及其流入金额分别为:华泰柏瑞上证红利ETF(流出5.88亿元)、红利LV(流出4.28亿元)、景顺长城中证红利低波动100ETF(流出4.21亿元)。资金流出前10详情见下表:

东吴证券认为,随着两会政策落地,加上特殊建设国债,财政刺激力度符合预期。针对住建部长对地产企业破产的表态,这可能是地产开发行业出清的结束迹象,一方面地产不会引发系统性风险,另一方面地产链的格局重新分配逐渐开启。中期地产链基本面仍在底部徘徊。但随着资本市场政策的回暖,市场情绪和增量资金继续好转,短期地产链会跟随市场积极反弹,估值水平仍处于历史低位。
东莞证券指出,政府持续出台政策推进金融企业支持房企融资,3月8日万科、龙湖集团等提前兑付债务,彰显政策成效,也能提升市场对房企的信心。而在2024年政府工作报告中提出的房地产行业目标,东莞证券认为未来房地产政策上仍以“防范风险、优化政策、构建新模式”为主要方向及目标。房地产优化政策仍将持续加码推出落地,包括地方性的放松房地产调控甚至增加刺激楼市需求措施;加大力度支持房企及按揭贷款融资;以及保障房制度完善等一些更长效的政策。而楼市销售数据的改善需持续观察。在政策持续加码叠加之下,相信行业整体风险可控。
(作者:赵阳,唐铮玮 编辑:梁明)