绿地地产等被强制执行6.9亿
2024-08-27 16:15
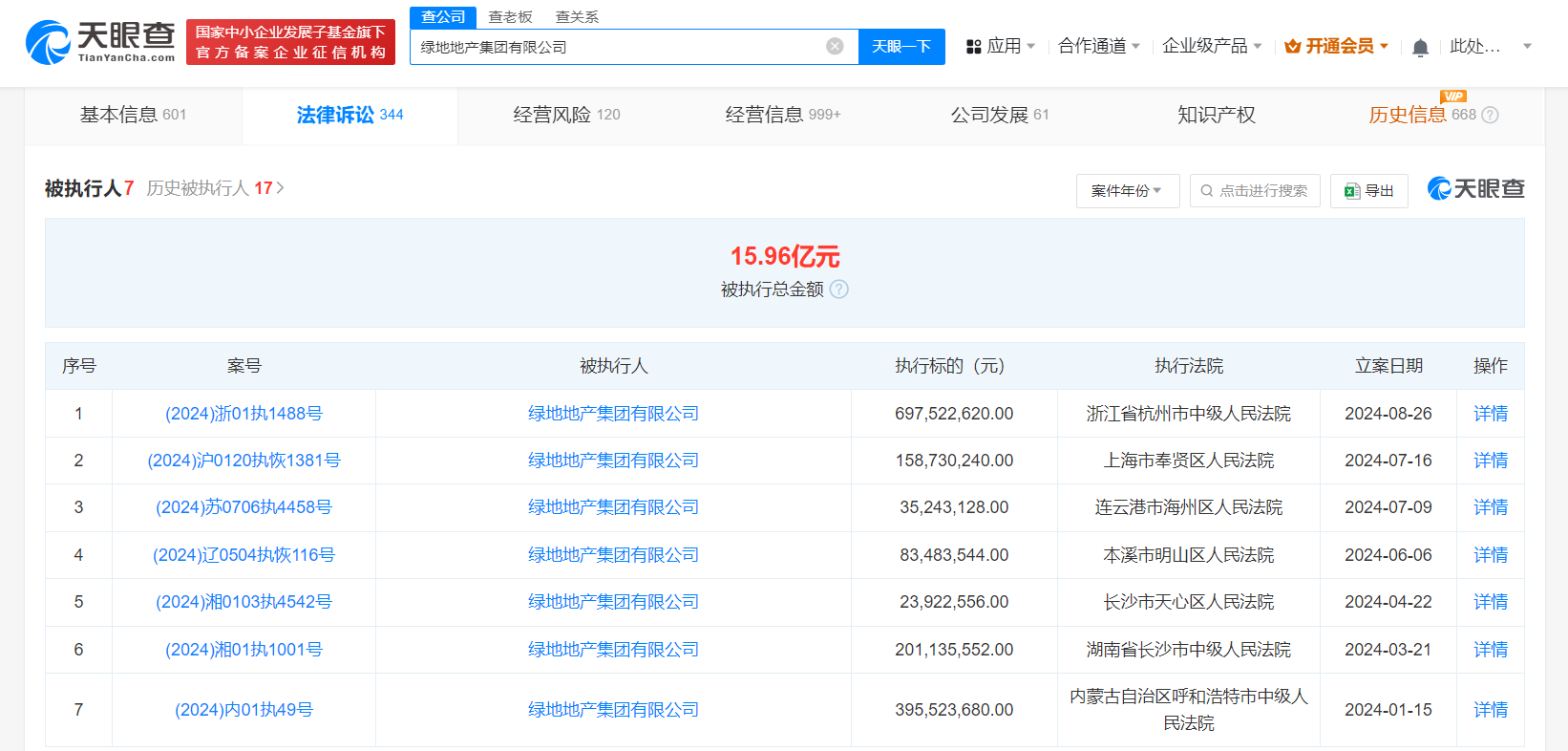
南方财经8月27日电,天眼查法律诉讼信息显示,近日,绿地地产集团有限公司、绿地控股集团宁波绿地置业有限公司、杭州绿地锦城房地产开发有限公司新增一条被执行人信息,执行标的6.9亿余元,涉及金融借款合同纠纷案件,执行法院为浙江省杭州市中级人民法院。绿地地产集团有限公司成立于2010年3月,法定代表人为徐冲昊,注册资本50亿人民币,由绿地控股集团有限公司、绿地金创科技集团有限公司共同持股。天眼风险信息显示,该公司现存多个被执行人信息,被执行总金额超15.9亿余元,此外还存在限制消费令及股权冻结信息。



