小米申请注册YU7商标
2024-12-25 14:00
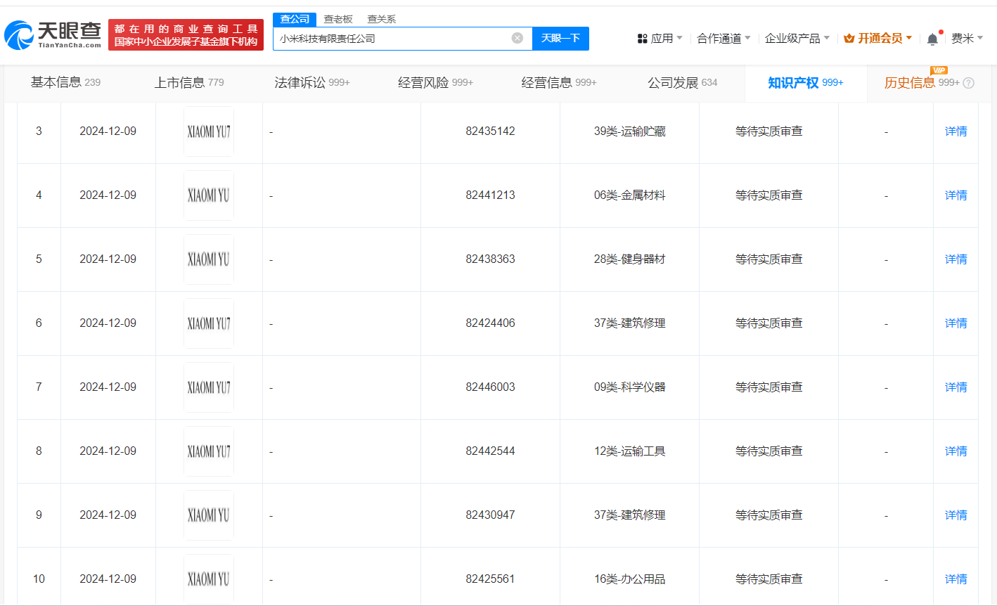
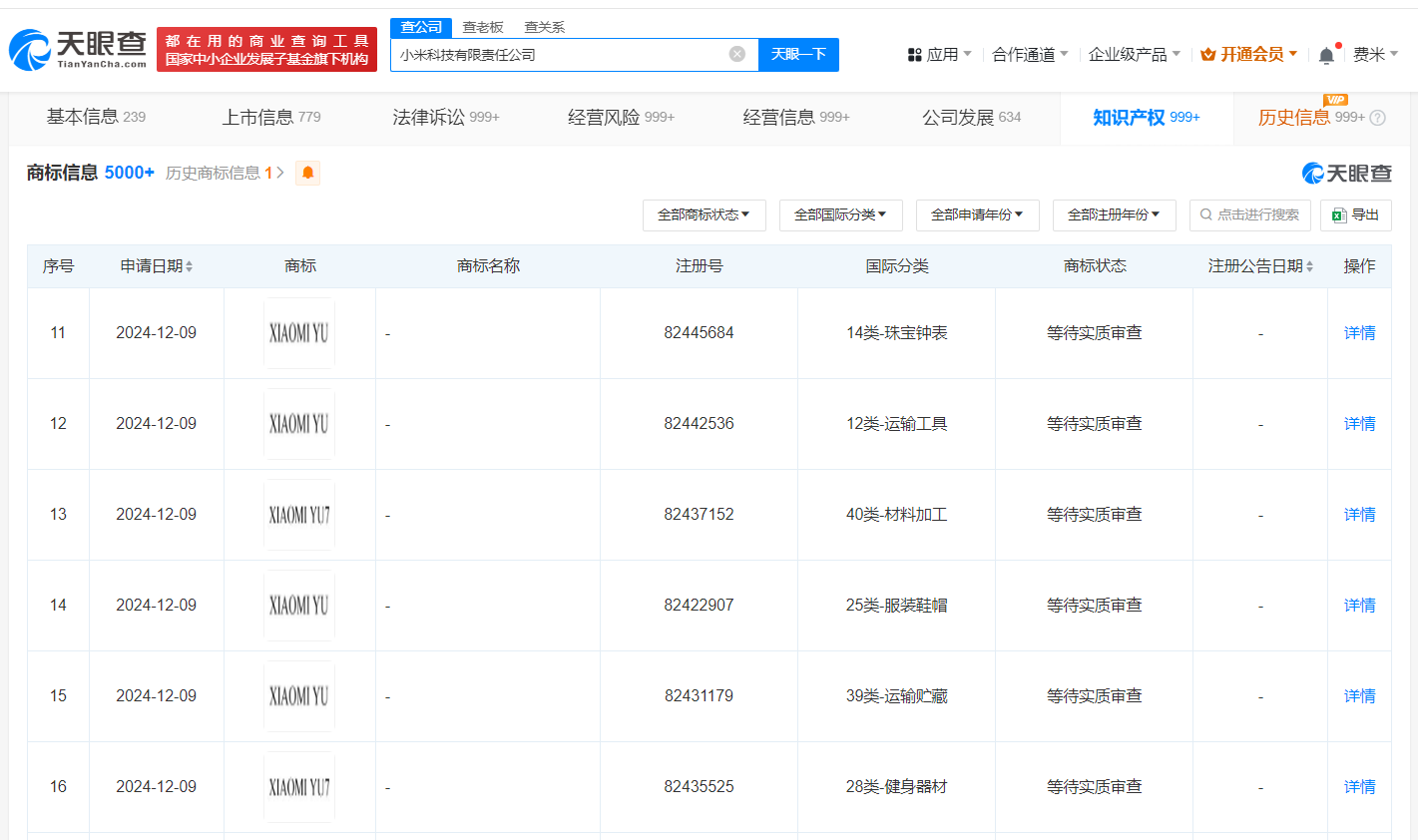
南方财经12月25日电,天眼查知识产权信息显示,近日,小米科技有限责任公司申请注册多枚“XIAOMI YU7”“XIAOMI YU”商标,国际分类包含运输贮藏、运输工具、科学仪器等,当前商标状态均为等待实质审查。此前,小米汽车官方微博发布动态显示,小米汽车第二款车型为SUV,定名为“小米YU7”,预计2025年6-7月正式上市。
相关快讯
相关文章