智谱AI申请注册清影商标
2024-08-14 14:30
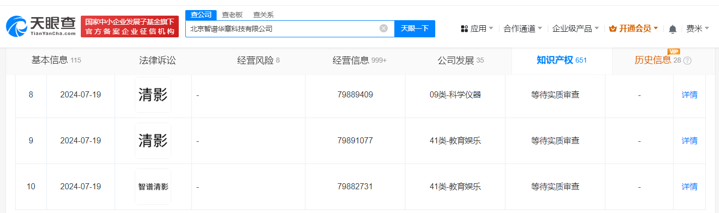
南方财经8月14日电,天眼查知识产权信息显示,近日,北京智谱华章科技有限公司申请注册3枚“清影”商标和1枚“智谱清影”商标,国际分类为科学仪器、教育娱乐和网站服务,当前商标状态为等待实质审查。据媒体报道,不久前,智谱AI发布AI生成视频模型清影(Ying),其生成6秒高精度视频只需要30秒时间。
相关快讯
相关文章