茅台集团已注册多枚龙茅商标 龙茅商标曾遭多方抢注
2024-01-16 11:58
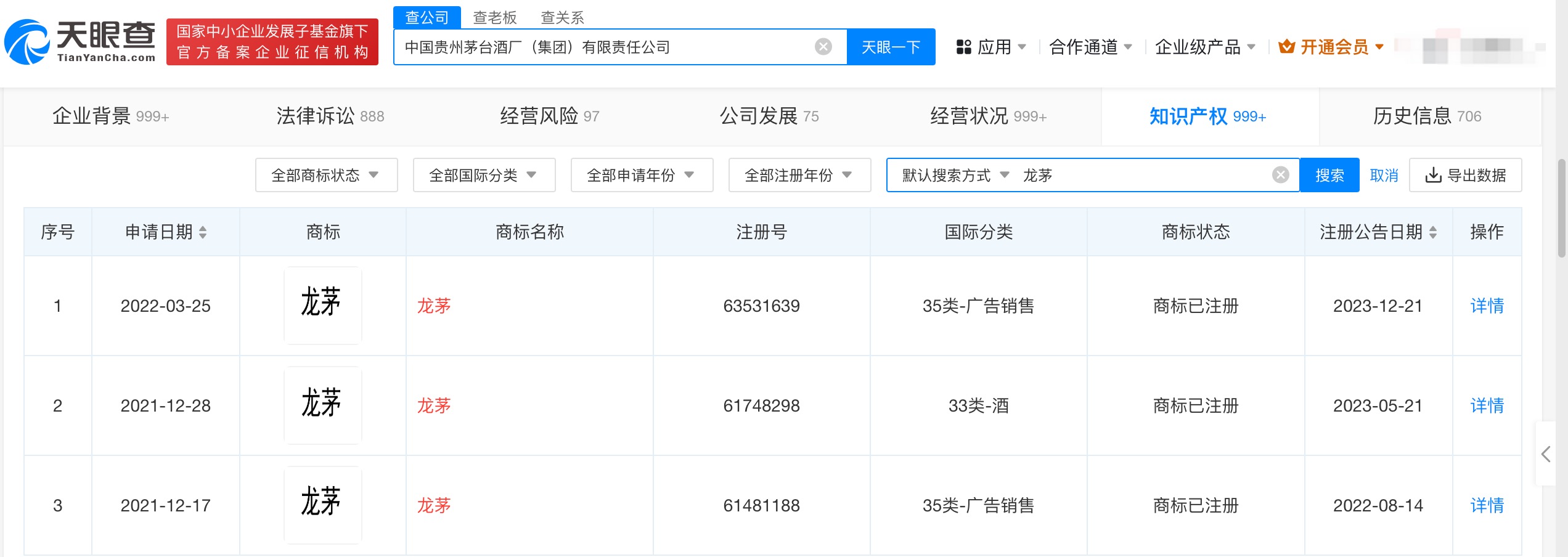
南方财经1月16日电,据媒体报道,近日,甲辰龙年贵州茅台酒开启申购后,其价格在市场中上演“过山车”行情,一度涨至近8000元/瓶,不过近几天其价格已几近腰斩。天眼查App显示,中国贵州茅台酒厂(集团)有限责任公司已于2021年12月、2022年3月申请3枚“龙茅”商标,国际分类为酒、广告销售,上述商标分别于2022年8月、2023年5月、2023年12月完成注册。值得一提的是,还有多个公司曾申请注册“龙茅”商标,申请人包括实业公司、商贸公司、酒业公司等,国际分类包括酒、医药、广告销售等,其中,一商贸公司已完成注册医药类“龙茅”商标,其余商标申请均已被驳回或显示为无效状态。

