字节跳动申请HiAgent商标 字节申请企业AI应用平台商标
2024-07-29 17:29
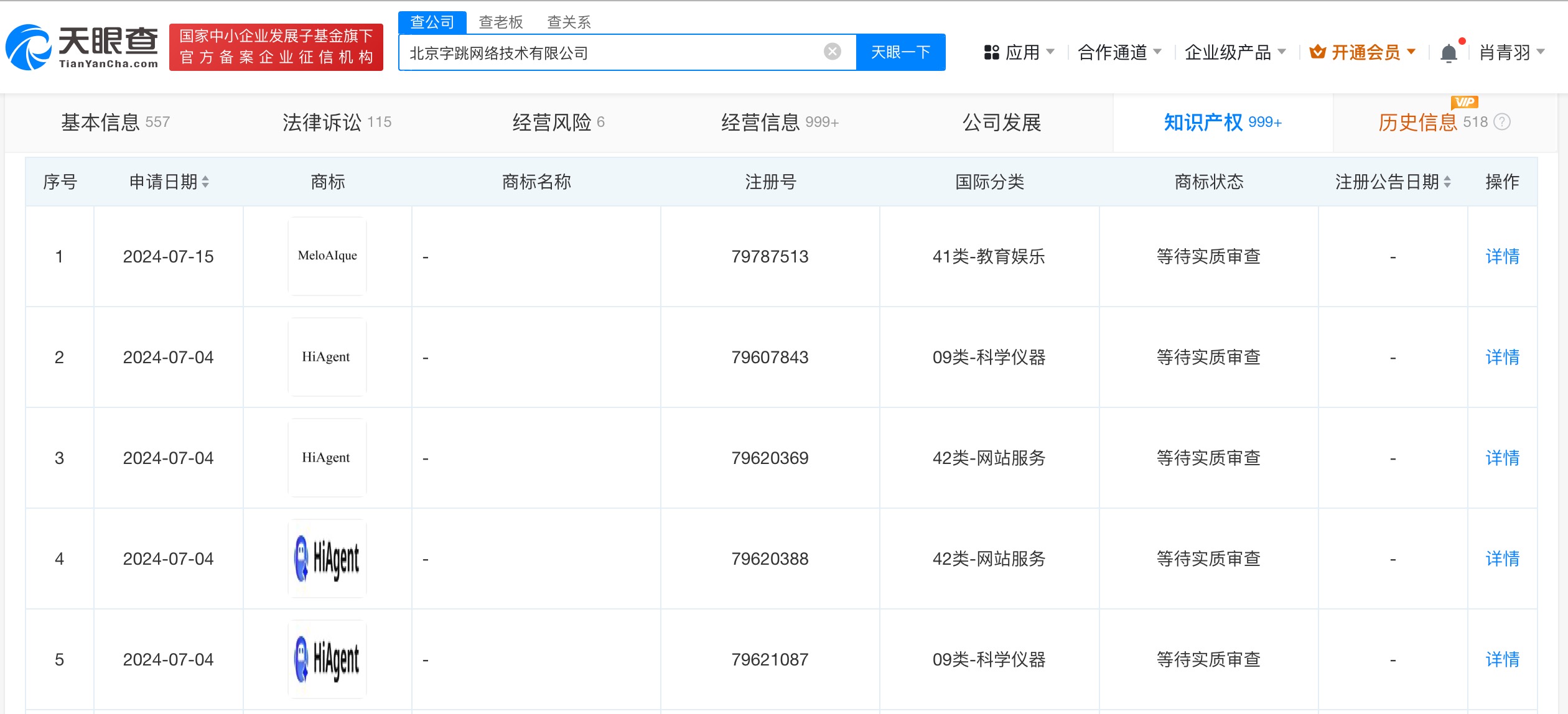
南方财经7月29日电,天眼查知识产权信息显示,近日,北京字跳网络技术有限公司申请注册4枚“HiAgent”商标,国际分类为科学仪器、网站服务,当前商标状态均为等待实质审查。据悉,HiAgent是字节跳动旗下火山引擎打造的企业专属AI应用创新平台。
相关快讯
相关文章