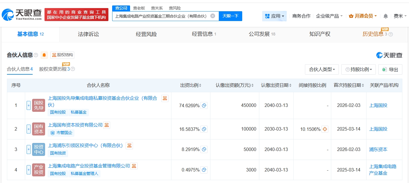
上海集成电路产业投资基金三期增资至60.3亿
21世纪经济报道 21快讯
2026-02-10 11:13
南方财经2月10日电,天眼查App显示,近日,上海集成电路产业投资基金三期合伙企业(有限合伙)发生工商变更,新增上海国投先导集成电路私募投资基金合伙企业(有限合伙)、上海浦东引领区投资中心(有限合伙)为合伙人,同时出资额由5.3亿人民币增至60.3亿人民币,增幅约1038%。该基金成立于去年3月,执行事务合伙人为上海集成电路产业投资基金管理有限公司,经营范围为以私募基金从事股权投资、投资管理、资产管理等活动,现由上海国有资本投资有限公司、上海集成电路产业投资基金管理有限公司及上述新增合伙人共同出资。



