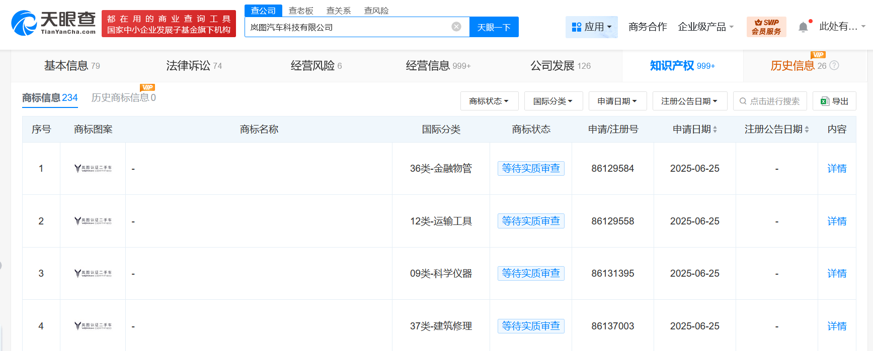
岚图汽车申请二手车商标
2025-07-14 10:55
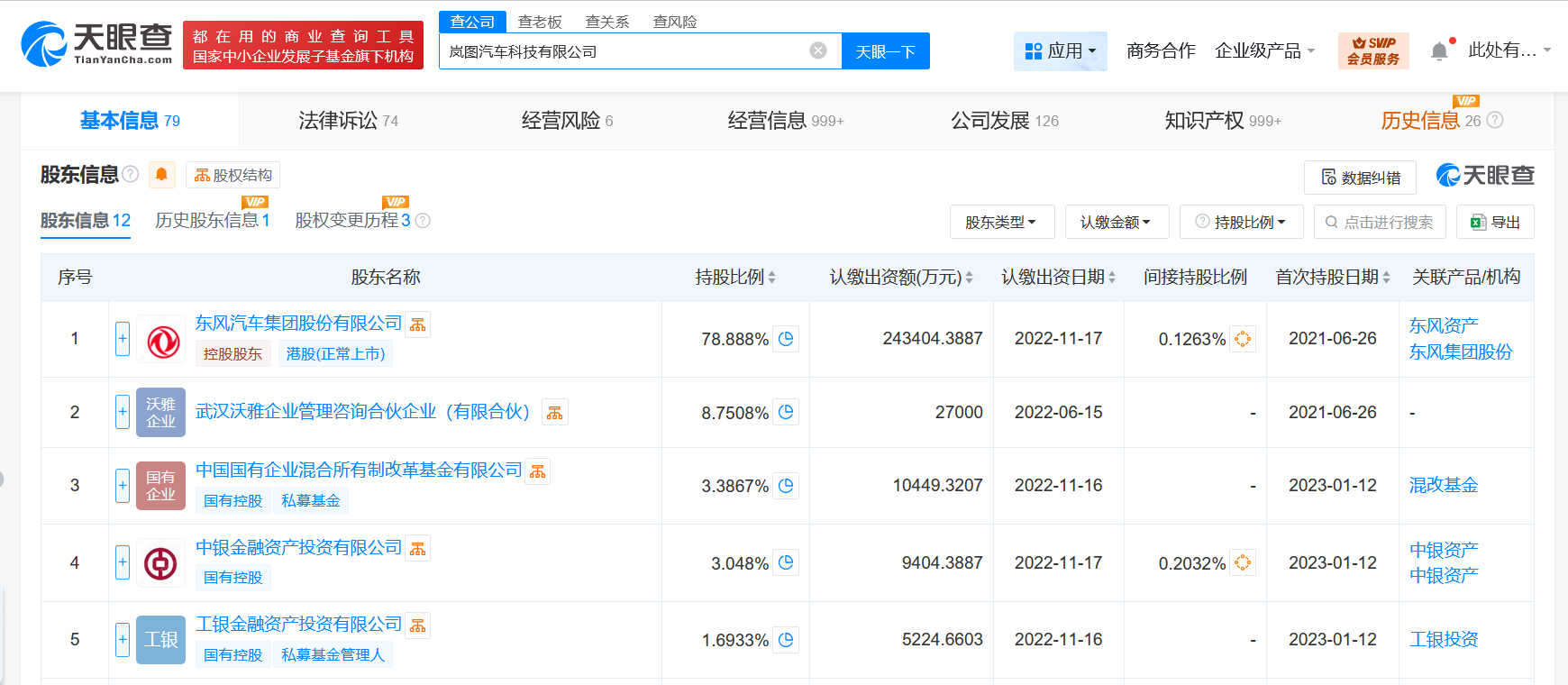
南方财经7月14日电,天眼查知识产权信息显示,近日,岚图汽车科技有限公司申请注册多枚“岚图认证二手车”商标,国际分类为运输工具、金融物管、科学仪器、建筑修理,当前商标状态均为等待实质审查。岚图汽车科技有限公司成立于2021年6月,法定代表人为尤峥,注册资本约30.85亿人民币,经营范围含工程和技术研究和试验发展、以自有资金从事投资活动、新能源汽车整车销售、新能源汽车电附件销售、汽车新车销售、新能源汽车生产测试设备销售等,由东风集团股份(00489.HK)、武汉沃雅企业管理咨询合伙企业(有限合伙)、中国国有企业混合所有制改革基金有限公司等共同持股。




相关股票:
东风集团股份