北汽集团已申请BAIC商标
2024-09-24 14:07
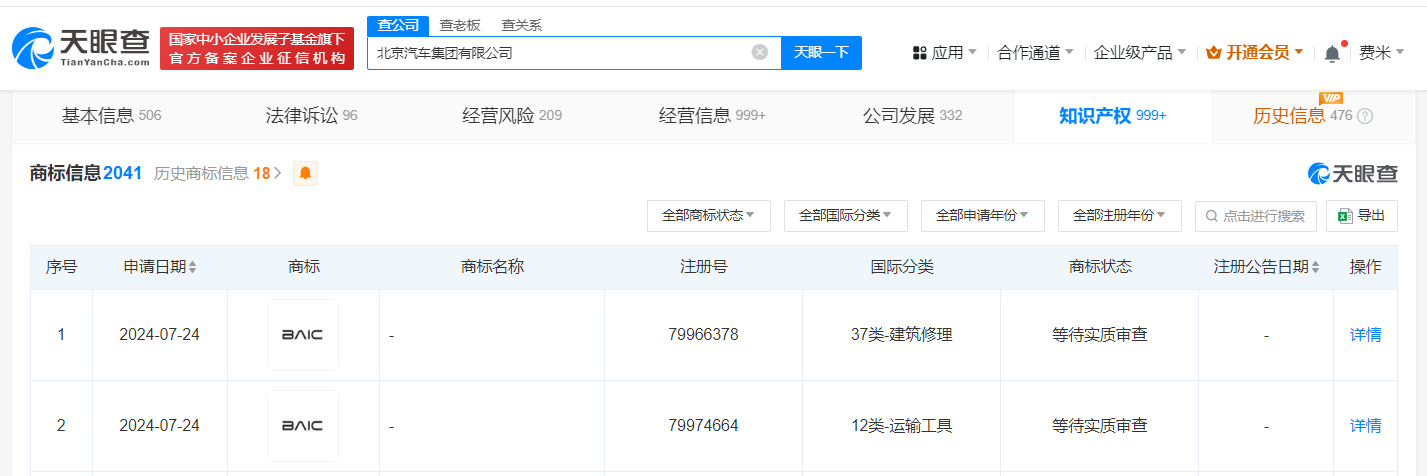
南方财经9月24日电,据媒体报道,近日,北汽集团旗下北京汽车发布公告,称公司标志已变更,新标志改为BAIC的字母车标,其中B/A两个字母有特殊的设计,老款标志将不再使用。天眼查知识产权信息显示,北京汽车集团有限公司已于今年7月申请注册2枚“BAIC”图形商标,国际分类为运输工具、建筑修理,当前商标状态均为等待实质审查。
相关快讯
相关文章