万达商管所持两座万达广场股权被冻结
2025-07-04 14:05
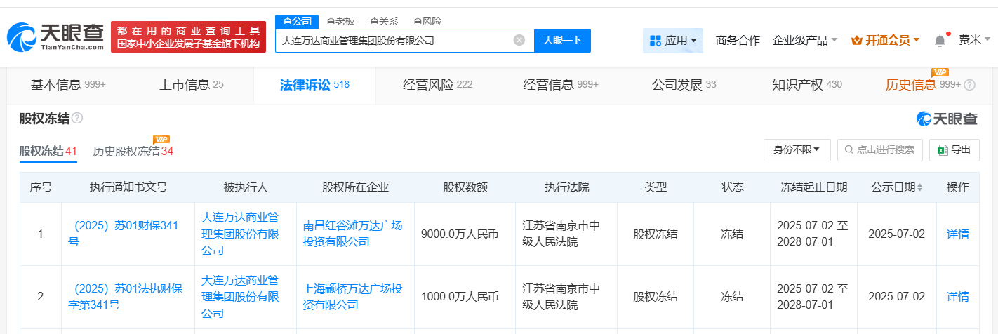
南方财经7月4日电,天眼查深度风险信息显示,近日,大连万达商业管理集团股份有限公司新增两则股权冻结信息,股权所在企业分别为南昌红谷滩万达广场投资有限公司、上海颛桥万达广场投资有限公司,冻结股权数额合计1亿元人民币,冻结期限均为3年,执行法院为江苏省南京市中级人民法院。大连万达商业管理集团股份有限公司成立于2002年9月,法定代表人为张春远,注册资本约271.6亿人民币,经营范围包括建设工程设计、代理记账、商业综合体管理服务等,由王健林、孙喜双、林宁等共同持股。



