华为上汽均已申请尚界商标 华为已成功注册尚界商标
2025-02-11 19:04
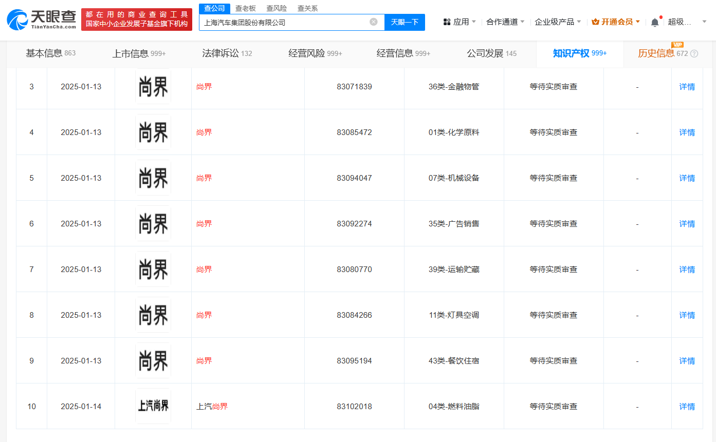
南方财经2月11日电,据媒体报道,从多位行业人士处获悉,华为与上汽的合作模式已确定将使用智选车模式,从上汽注册的商标来看,该品牌名初步为“尚界”。与鸿蒙智行原有的四个品牌不同,尚界面向更年轻化市场。消息人士透露,“车型售价会从17万元、18万元起,做到25万元左右”。天眼查知识产权信息显示,近日,上海汽车集团股份有限公司申请注册了多枚“尚界”“上汽尚界”商标,国际分类涉及广告销售、运输贮藏、机械设备等,当前商标状态均为等待实质审查。值得注意的是,华为技术有限公司曾于2023年11月申请注册两枚“尚界”商标,国际分类为运输工具、科学仪器,当前商标状态均为已注册。

