茅台子公司申请酱香果茶冰酒商标
2024-01-02 10:18
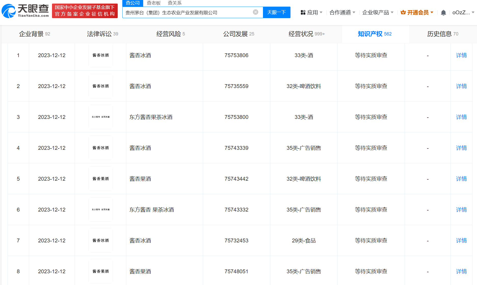
南方财经1月2日电,天眼查App显示,近日,贵州茅台(集团)生态农业产业发展有限公司申请注册多枚“酱香冰酒”“酱香果酒”“东方酱香果茶冰酒”商标,国际分类涉及酒、啤酒饮料、广告销售等,当前商标状态均为等待实质审查。贵州茅台(集团)生态农业产业发展有限公司成立于2015年2月,法定代表人、董事长兼总经理为邝英,注册资本3.1亿人民币,由中国贵州茅台酒厂(集团)有限责任公司全资持股。
相关快讯
相关文章